Εγγραφή
Σύνδεση
(0)
(0)
Δεν υπάρχουν προϊόντα στο καλάθι σας.
Αναζήτηση
Genuine Piaggio Group Parts
UpMap
Μοτοσυκλέτα
Scooter
Εξατμίσεις
Βάσεις κινητού, ActionCam, GPS
Λιπαντικά
Αναβάτης
Αντικλεπτικά
Μπαταρίες
Βιβλία
Πακέτα Συντήρησης Scooter/Moto
Motoholics e-Gift Card
Μεταχειρισμένα
Service
Μενου
Genuine Piaggio Group Parts
UpMap
Μοτοσυκλέτα
Scooter
Εξατμίσεις
Βάσεις κινητού, ActionCam, GPS
Λιπαντικά
Αναβάτης
Αντικλεπτικά
Μπαταρίες
Βιβλία
Πακέτα Συντήρησης Scooter/Moto
Motoholics e-Gift Card
Service
Αρχική σελίδα
/
Genuine Piaggio Group Parts
/
Aprilia
/
Motorbike
/
RSV 4 1000
/
RSV4 1000 R E3 NOABS 2009-2010
/
ΠΛΑΙΣΙΟ
/
Αμάξωμα εμπρός Ι
Φιλτράρισμα με τιμή
Κατηγορίες
Genuine Piaggio Group Parts
UpMap
Μοτοσυκλέτα
Scooter
Εξατμίσεις
Βάσεις κινητού, ActionCam, GPS
Λιπαντικά
Αναβάτης
Αντικλεπτικά
Μπαταρίες
Βιβλία
Πακέτα Συντήρησης Scooter/Moto
Motoholics e-Gift Card
Κατασκευαστές
AKRAPOVIC
VICMA
Bart Factory
PMT TYRES
Barnett
CHT CHIARAVALLI
MAXIMA RACING OILS
ABUS
AFAM
Aprilia
Armadillo Covers
aSpecialParts
AWA TECH
AXP
Barkbusters
Beeline
Benelli
BITUBO
BMW
BONAMICI RACING
Brembo
BS BATTERY
Bullster
Cardo
CFMOTO
CMS
CNC Racing
Denicol Lubricants
DNA
domino
Προβολή όλων
Είδατε πρόσφατα
ΡΕΛΕ ΜΙΖΑΣ BEV-Χ9-Χ10 12V 150A-582690
ΤΑΠΑ ΛΑΔΙΟΥ RSV 4-857184
ΣΦΥΚΤΗΡΑΣ 4.5X280-AP8120657
Δημοφιλεις ετικετες
aprilia
battery
exatmish
exhaust
hpcorse
hp-corse
silencer
slipon
slip-on
teliko
vespa
εξάτμιση
μπαταρια
σιλανσιέ
τελικό
Προβολή όλων
Αμάξωμα εμπρός Ι
12062|39800000000028090030300160003||0013421|αμαξωμα-εμπροσ-ι-15|Αμάξωμα εμπρός Ι
Προβολή ως
Πλέγμα
Λίστα
Ταξινόμηση ανά
Κορυφαίες επιλογές πρώτα
Αλφαβητικά Α - Ω
Αλφαβητικά Ω - Α
Αύξουσα τιμή
Φθίνουσα τιμή
Δημιουργήθηκε στις
Εμφάνιση
30
60
120
ανά σελίδα
ΑΥΤ/ΤΟ ΖΕΛΑΤ ΦΕΡΙΓΚ RSV4 APRC/RS4 50-125-895335
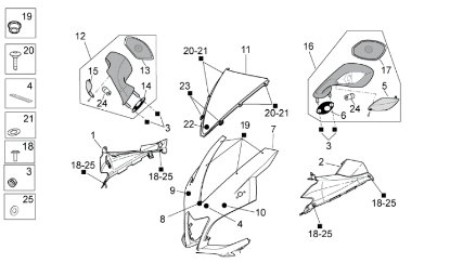
Το προιόν είναι το Νουμερο: 22 στην εικόνα.
€3,30
+Καλάθι
+Σύγκριση
Προσθήκη στα αγαπημένα
ΑΥΤ/ΤΟ ΜΑΣΚΑΣ ΦΑΝΟΥ RSV 4 09-10 ΙΤΑΛ ΣΗΜ-893762
Το προιόν είναι το Νουμερο: 8 στην εικόνα.
€5,51
+Καλάθι
+Σύγκριση
Προσθήκη στα αγαπημένα
ΑΥΤ/ΤΟ ΜΑΣΚΑΣ ΦΑΝΟΥ RSV 4 FAC/R ΑΡΙΣΤ-893764
Το προιόν είναι το Νουμερο: 10 στην εικόνα.
€0,79
+Καλάθι
+Σύγκριση
Προσθήκη στα αγαπημένα
ΑΥΤ/ΤΟ ΜΑΣΚΑΣ ΦΑΝΟΥ RSV 4 FAC/R ΔΕΞ-893763
Το προιόν είναι το Νουμερο: 9 στην εικόνα.
€0,79
+Καλάθι
+Σύγκριση
Προσθήκη στα αγαπημένα
ΒΙΔΑ M4X12-581957
Το προιόν είναι το Νουμερο: 20 στην εικόνα.
€0,15
+Καλάθι
+Σύγκριση
Προσθήκη στα αγαπημένα
ΒΙΔΑ M4X12-621914
Το προιόν είναι το Νουμερο: 20 στην εικόνα.
€0,07
+Καλάθι
+Σύγκριση
Προσθήκη στα αγαπημένα
ΒΙΔΑ M5X12-896174
Το προιόν είναι το Νουμερο: 18 στην εικόνα.
€0,38
+Καλάθι
+Σύγκριση
Προσθήκη στα αγαπημένα
ΒΙΔΑ M5X16-895915
Το προιόν είναι το Νουμερο: 18 στην εικόνα.
€0,24
+Καλάθι
+Σύγκριση
Προσθήκη στα αγαπημένα
ΖΕΛΑΤΙΝΑ ΦΕΡΙΓΚ RSV 4 R 09-13/RS4 125-895869
Το προιόν είναι το Νουμερο: 11 στην εικόνα.
€88,99
+Καλάθι
+Σύγκριση
Προσθήκη στα αγαπημένα
ΚΑΘΡΕΠΤΗΣ RSV 1000 `04-`08 ΑΡΙΣΤ-AP8104754
Το προιόν είναι το Νουμερο: 17 στην εικόνα.
€21,01
+Καλάθι
+Σύγκριση
Προσθήκη στα αγαπημένα
ΚΑΘΡΕΠΤΗΣ RSV 1000 `04-`08 ΔΕΞΙΟΣ-AP8104755
Το προιόν είναι το Νουμερο: 13 στην εικόνα.
€26,00
+Καλάθι
+Σύγκριση
Προσθήκη στα αγαπημένα
ΚΑΘΡΕΠΤΗΣ RSV 4 FAC/R/APRC USA/CAN ΑΡΙΣΤ-899205
Το προιόν είναι το Νουμερο: 16 στην εικόνα.
€94,00
+Καλάθι
+Σύγκριση
Προσθήκη στα αγαπημένα
ΚΑΘΡΕΠΤΗΣ RSV 4 FAC/R/APRC USA/CAN ΔΕΞ-899204
Το προιόν είναι το Νουμερο: 12 στην εικόνα.
€94,00
+Καλάθι
+Σύγκριση
Προσθήκη στα αγαπημένα
ΚΑΘΡΕΠΤΗΣ RSV 4 FAC/R/APRC ΑΡΙΣΤ-899203
Το προιόν είναι το Νουμερο: 16 στην εικόνα.
€142,00
+Καλάθι
+Σύγκριση
Προσθήκη στα αγαπημένα
ΚΑΘΡΕΠΤΗΣ RSV 4 FAC/R/APRC ΔΕΞΙΟΣ-899202
Το προιόν είναι το Νουμερο: 12 στην εικόνα.
€139,00
+Καλάθι
+Σύγκριση
Προσθήκη στα αγαπημένα
ΚΑΠΑΚΙ ΑΕΡΑΓΩΓΟΥ RSV 4 FAC/R ΑΡΙΣΤ-89732600XN6
Το προιόν είναι το Νουμερο: 2 στην εικόνα.
€85,99
+Καλάθι
+Σύγκριση
Προσθήκη στα αγαπημένα
ΚΑΠΑΚΙ ΑΕΡΑΓΩΓΟΥ RSV 4 FAC/R ΔΕΞ-85881300XN6
Το προιόν είναι το Νουμερο: 1 στην εικόνα.
€91,00
+Καλάθι
+Σύγκριση
Προσθήκη στα αγαπημένα
ΚΡΥΣΤ ΜΠΡ ΦΛΑΣ ΑΡ RSV 1000 04/05-AP8104759
Το προιόν είναι το Νουμερο: 5 στην εικόνα.
€20,00
+Καλάθι
+Σύγκριση
Προσθήκη στα αγαπημένα
ΚΡΥΣΤ ΜΠΡ ΦΛΑΣ ΔΕ RSV 1000 04/05-AP8104760
Το προιόν είναι το Νουμερο: 15 στην εικόνα.
€20,00
+Καλάθι
+Σύγκριση
Προσθήκη στα αγαπημένα
ΚΡΥΣΤΑΛ ΜΠΡΟΣ ΦΛΑΣ ΑΡ RSV 06-AP8127700
Το προιόν είναι το Νουμερο: 5 στην εικόνα.
€18,00
+Καλάθι
+Σύγκριση
Προσθήκη στα αγαπημένα
ΚΡΥΣΤΑΛΛΟ ΦΛΑΣ ΔΕ ΚΑΘΡΕΠΤΗ RSV 1000-AP8127699
Το προιόν είναι το Νουμερο: 15 στην εικόνα.
€18,00
+Καλάθι
+Σύγκριση
Προσθήκη στα αγαπημένα
ΛΑΜΠΑ 12V-10W BA15S-181746
Το προιόν είναι το Νουμερο: 24 στην εικόνα.
€1,80
+Καλάθι
+Σύγκριση
Προσθήκη στα αγαπημένα
ΛΑΜΠΑ 12V-10W BAU15s RY10 ΠΟΡΤΟΚ PHILIPS-UGL12093NACP
Το προιόν είναι το Νουμερο: 24 στην εικόνα.
€1,50
+Καλάθι
+Σύγκριση
Προσθήκη στα αγαπημένα
ΛΑΜΠΑ 12V-10W BAU15s RY10 ΠΟΡΤΟΚ-AP8127489
Το προιόν είναι το Νουμερο: 24 στην εικόνα.
€4,01
+Καλάθι
+Σύγκριση
Προσθήκη στα αγαπημένα
ΛΑΣΤΙΧΑΚΙ ΑΠΟΣΤΑΤΗΣ RSV 4 FAC/R-AP8220186
Το προιόν είναι το Νουμερο: 23 στην εικόνα.
€0,69
+Καλάθι
+Σύγκριση
Προσθήκη στα αγαπημένα
ΛΑΣΤΙΧΑΚΙ-AP8144564
Το προιόν είναι το Νουμερο: 19 στην εικόνα.
€4,60
+Καλάθι
+Σύγκριση
Προσθήκη στα αγαπημένα
ΠΑΞΙΜΑΔΙ M6-AP8150506
Το προιόν είναι το Νουμερο: 3 στην εικόνα.
€0,19
+Καλάθι
+Σύγκριση
Προσθήκη στα αγαπημένα
ΡΟΔΕΛΑ ΠΛΑΣΤΙΚΗ-895916
Το προιόν είναι το Νουμερο: 21 στην εικόνα.
€0,07
+Καλάθι
+Σύγκριση
Προσθήκη στα αγαπημένα
ΡΟΔΕΛΑ-AP8120622
Το προιόν είναι το Νουμερο: 25 στην εικόνα.
€0,61
+Καλάθι
+Σύγκριση
Προσθήκη στα αγαπημένα
ΣΠΟΓΓΟΣ 15X3-AP8117033
Το προιόν είναι το Νουμερο: 4 στην εικόνα.
€1,70
+Καλάθι
+Σύγκριση
Προσθήκη στα αγαπημένα
1
2
Επόμενο
Τα cookies μας βοηθούν να παρέχουμε τις υπηρεσίες μας. Με τη χρήση των υπηρεσιών μας, συμφωνείτε με τη χρήση των cookies.
ΟΚ
Μάθε περισσότερα