Εγγραφή
Σύνδεση
(0)
(0)
Δεν υπάρχουν προϊόντα στο καλάθι σας.
Αναζήτηση
Genuine Piaggio Group Parts
UpMap
Μοτοσυκλέτα
Scooter
Εξατμίσεις
Βάσεις κινητού, ActionCam, GPS
Λιπαντικά
Αναβάτης
Αντικλεπτικά
Μπαταρίες
Βιβλία
Πακέτα Συντήρησης Scooter/Moto
Motoholics e-Gift Card
Μεταχειρισμένα
Service
Μενου
Genuine Piaggio Group Parts
UpMap
Μοτοσυκλέτα
Scooter
Εξατμίσεις
Βάσεις κινητού, ActionCam, GPS
Λιπαντικά
Αναβάτης
Αντικλεπτικά
Μπαταρίες
Βιβλία
Πακέτα Συντήρησης Scooter/Moto
Motoholics e-Gift Card
Service
Αρχική σελίδα
/
Genuine Piaggio Group Parts
/
Piaggio
/
Scooter
/
Liberty 200
/
Liberty 200 4T Sport 2006 (EMEA)
/
Κινητήρας
/
Εξάτμιση
Φιλτράρισμα με τιμή
Κατηγορίες
Genuine Piaggio Group Parts
UpMap
Μοτοσυκλέτα
Scooter
Εξατμίσεις
Βάσεις κινητού, ActionCam, GPS
Λιπαντικά
Αναβάτης
Αντικλεπτικά
Μπαταρίες
Βιβλία
Πακέτα Συντήρησης Scooter/Moto
Motoholics e-Gift Card
Κατασκευαστές
AKRAPOVIC
VICMA
Bart Factory
PMT TYRES
Barnett
CHT CHIARAVALLI
MAXIMA RACING OILS
ABUS
AFAM
Aprilia
Armadillo Covers
aSpecialParts
AWA TECH
AXP
Barkbusters
Beeline
Benelli
BITUBO
BMW
BONAMICI RACING
Brembo
BS BATTERY
Bullster
Cardo
CFMOTO
CMS
CNC Racing
Denicol Lubricants
DNA
domino
Προβολή όλων
Είδατε πρόσφατα
ΒΙΔΑ M3x12-297498
ΒΙΔΑ SCOOTER-259830
ΒΙΔΑ 4,2X13-259349
Δημοφιλεις ετικετες
aprilia
battery
exatmish
exhaust
hpcorse
hp-corse
silencer
slipon
slip-on
teliko
vespa
εξάτμιση
μπαταρια
σιλανσιέ
τελικό
Προβολή όλων
Εξάτμιση
33668|N15U000U010001420010100180003||0034604|εξατμιση-302|Εξάτμιση
Προβολή ως
Πλέγμα
Λίστα
Ταξινόμηση ανά
Κορυφαίες επιλογές πρώτα
Αλφαβητικά Α - Ω
Αλφαβητικά Ω - Α
Αύξουσα τιμή
Φθίνουσα τιμή
Δημιουργήθηκε στις
Εμφάνιση
30
60
120
ανά σελίδα
ΒΙΔΑ ΕΞΑΤΜ-ΑΜΟΡΤ M8X50-844483
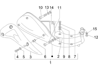
Το προιόν είναι το Νουμερο: 11 στην εικόνα.
€0,38
+Καλάθι
+Σύγκριση
Προσθήκη στα αγαπημένα
ΒΙΔΑ ΚΑΘΡΕΠΤΗ SPORT CITY ONE 50-125-872997
Το προιόν είναι το Νουμερο: 10 στην εικόνα.
€0,74
+Καλάθι
+Σύγκριση
Προσθήκη στα αγαπημένα
ΒΙΔΑ ΛΑΣΠΩΤΗΡΑ ΜΠΡΟΣ ΦΤΕΡΟΥ MP3-651014
Το προιόν είναι το Νουμερο: 4 στην εικόνα.
€0,07
+Καλάθι
+Σύγκριση
Προσθήκη στα αγαπημένα
ΕΞΑΤΜΙΣΗ ET4 125 150 LX 125-150 SITO PLU-L265
Το προιόν είναι το Νουμερο: 1 στην εικόνα.
€229,00
+Καλάθι
+Σύγκριση
Προσθήκη στα αγαπημένα
ΕΞΑΤΜΙΣΗ FLY 125/150 4T E3 ΜΥ08 ΚΟΜΠΛΕ-880747
Το προιόν είναι το Νουμερο: 1 στην εικόνα.
€250,00
+Καλάθι
+Σύγκριση
Προσθήκη στα αγαπημένα
ΕΞΑΤΜΙΣΗ TECNIGAS ET4 LX 125/150 LIB 200-TE032785
Το προιόν είναι το Νουμερο: 1 στην εικόνα.
€218,00
+Καλάθι
+Σύγκριση
Προσθήκη στα αγαπημένα
ΕΞΑΤΜΙΣΗ VESPA LX 125-150-LIBERTY 200-8454715
Το προιόν είναι το Νουμερο: 1 στην εικόνα.
€264,00
+Καλάθι
+Σύγκριση
Προσθήκη στα αγαπημένα
ΛΑΣΤΙΧΑΚΙ ΠΡΟΦΥΛ ΕΞΑΤΜ BEV TOURER-SPCITY-841782
Το προιόν είναι το Νουμερο: 6 στην εικόνα.
€0,68
+Καλάθι
+Σύγκριση
Προσθήκη στα αγαπημένα
ΠΑΞΙΜΑΔΙ M7X1 SW10 H=8 ΓΙΑ ΜΠΟΥΖ ΕΞΑΤΜ-436947
Το προιόν είναι το Νουμερο: 12 στην εικόνα.
€2,00
+Καλάθι
+Σύγκριση
Προσθήκη στα αγαπημένα
ΠΡΟΦΥΛΑΚΤΗΡΑΣ ΕΞΑΤΜ ET4-LIB200-LX125-150-8454655
Το προιόν είναι το Νουμερο: 3 στην εικόνα.
€20,00
+Καλάθι
+Σύγκριση
Προσθήκη στα αγαπημένα
ΡΟΔΕΛΑ 16x8,2x2,2-834187
Το προιόν είναι το Νουμερο: 15 στην εικόνα.
€0,07
+Καλάθι
+Σύγκριση
Προσθήκη στα αγαπημένα
ΡΟΔΕΛΑ-709012
Το προιόν είναι το Νουμερο: 13 στην εικόνα.
€0,56
+Καλάθι
+Σύγκριση
Προσθήκη στα αγαπημένα
ΡΟΔΕΛΑ-827526
Το προιόν είναι το Νουμερο: 5 στην εικόνα.
€0,15
+Καλάθι
+Σύγκριση
Προσθήκη στα αγαπημένα
ΡΟΔΕΛΛΑ-016405
Το προιόν είναι το Νουμερο: 9 στην εικόνα.
€0,04
+Καλάθι
+Σύγκριση
Προσθήκη στα αγαπημένα
ΡΟΔΕΛΛΑ-828535
Το προιόν είναι το Νουμερο: 8 στην εικόνα.
€0,10
+Καλάθι
+Σύγκριση
Προσθήκη στα αγαπημένα
Τα cookies μας βοηθούν να παρέχουμε τις υπηρεσίες μας. Με τη χρήση των υπηρεσιών μας, συμφωνείτε με τη χρήση των cookies.
ΟΚ
Μάθε περισσότερα