Εγγραφή
Σύνδεση
(0)
(0)
Δεν υπάρχουν προϊόντα στο καλάθι σας.
Αναζήτηση
Genuine Piaggio Group Parts
UpMap
Μοτοσυκλέτα
Scooter
Εξατμίσεις
Βάσεις κινητού, ActionCam, GPS
Λιπαντικά
Αναβάτης
Αντικλεπτικά
Μπαταρίες
Βιβλία
Πακέτα Συντήρησης Scooter/Moto
Motoholics e-Gift Card
Μεταχειρισμένα
Service
Μενου
Genuine Piaggio Group Parts
UpMap
Μοτοσυκλέτα
Scooter
Εξατμίσεις
Βάσεις κινητού, ActionCam, GPS
Λιπαντικά
Αναβάτης
Αντικλεπτικά
Μπαταρίες
Βιβλία
Πακέτα Συντήρησης Scooter/Moto
Motoholics e-Gift Card
Service
Αρχική σελίδα
/
Genuine Piaggio Group Parts
/
Vespa
/
Scooter
/
Vespa LX 125
/
Vespa LX 125 4T 2V NOABS E3 2006-2008 (EMEA)
/
Κινητήρας
/
Καπάκι κεφαλής
Φιλτράρισμα με τιμή
Κατηγορίες
Genuine Piaggio Group Parts
UpMap
Μοτοσυκλέτα
Scooter
Εξατμίσεις
Βάσεις κινητού, ActionCam, GPS
Λιπαντικά
Αναβάτης
Αντικλεπτικά
Μπαταρίες
Βιβλία
Πακέτα Συντήρησης Scooter/Moto
Motoholics e-Gift Card
Κατασκευαστές
AKRAPOVIC
VICMA
Bart Factory
PMT TYRES
Barnett
CHT CHIARAVALLI
MAXIMA RACING OILS
ABUS
AFAM
Aprilia
Armadillo Covers
aSpecialParts
AWA TECH
AXP
Barkbusters
Beeline
Benelli
BITUBO
BMW
BONAMICI RACING
Brembo
BS BATTERY
Bullster
Cardo
CFMOTO
CMS
CNC Racing
Denicol Lubricants
DNA
domino
Προβολή όλων
Είδατε πρόσφατα
ΚΑΠΑΚΙ ΔΙΑΚΟΠΤΗ VESPA PRIM-SPRINT ΑΡΙΣΤ-1B010309000K1
ΛΑΜΠΑ 12V-5W BA15S-2920225
ΡΟΔΕΛΑ S00697600-006976
Δημοφιλεις ετικετες
aprilia
battery
exatmish
exhaust
hpcorse
hp-corse
silencer
slipon
slip-on
teliko
vespa
εξάτμιση
μπαταρια
σιλανσιέ
τελικό
Προβολή όλων
Καπάκι κεφαλής
49899|NVP3000U050001120050100090003||0050655|καπακι-κεφαλησ-475|Καπάκι κεφαλής
Προβολή ως
Πλέγμα
Λίστα
Ταξινόμηση ανά
Κορυφαίες επιλογές πρώτα
Αλφαβητικά Α - Ω
Αλφαβητικά Ω - Α
Αύξουσα τιμή
Φθίνουσα τιμή
Δημιουργήθηκε στις
Εμφάνιση
30
60
120
ανά σελίδα
ΑΣΦΑΛΕΙΑ-248419
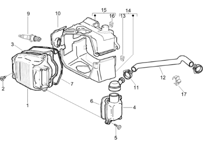
Το προιόν είναι το Νουμερο: 13 στην εικόνα.
€0,38
+Καλάθι
+Σύγκριση
Προσθήκη στα αγαπημένα
ΒΙΔΑ M5X20-877136
Το προιόν είναι το Νουμερο: 5 στην εικόνα.
€0,07
+Καλάθι
+Σύγκριση
Προσθήκη στα αγαπημένα
ΒΙΔΑ M6x20-018639
Το προιόν είναι το Νουμερο: 2 στην εικόνα.
€0,06
+Καλάθι
+Σύγκριση
Προσθήκη στα αγαπημένα
ΒΙΔΑ M6X22 SW10-031091
Το προιόν είναι το Νουμερο: 2 στην εικόνα.
€0,74
+Καλάθι
+Σύγκριση
Προσθήκη στα αγαπημένα
ΕΛΑΣΜΑ-231590
Το προιόν είναι το Νουμερο: 17 στην εικόνα.
€0,06
+Καλάθι
+Σύγκριση
Προσθήκη στα αγαπημένα
ΚΑΠΑΚΙ ΑΝΑΘΥΜΙΑΣΕΩΝ ΕΤ4 125/150-829008
Το προιόν είναι το Νουμερο: 4 στην εικόνα.
€19,00
+Καλάθι
+Σύγκριση
Προσθήκη στα αγαπημένα
ΚΑΠΑΚΙ ΚΕΦ ΚΥΛ ΕΤ4 150 ΕΞΩΤ-825368
Το προιόν είναι το Νουμερο: 10 στην εικόνα.
€6,40
+Καλάθι
+Σύγκριση
Προσθήκη στα αγαπημένα
ΚΑΠΑΚΙ ΚΕΦΑΛΗΣ ΚΥΛ SCOOTER 125-150 4T 4V-877140
Το προιόν είναι το Νουμερο: 1 στην εικόνα.
€23,00
+Καλάθι
+Σύγκριση
Προσθήκη στα αγαπημένα
ΚΟΛΙΕΣ ΚΟΛΑΡΟ ΝΕΡΟΥ 16-27 W1-10040000
Το προιόν είναι το Νουμερο: 11 στην εικόνα.
€2,91
+Καλάθι
+Σύγκριση
Προσθήκη στα αγαπημένα
ΚΟΛΙΕΣ ΣΥΓΚΡ ΚΟΛΑΡΟ ΝΕΡΟΥ ΜΕ ΒΙΔΑ 23-35m-AP8104097
Το προιόν είναι το Νουμερο: 11 στην εικόνα.
€2,00
+Καλάθι
+Σύγκριση
Προσθήκη στα αγαπημένα
ΚΟΛΙΕΣ ΣΥΓΚΡ ΚΟΛΑΡΟ ΝΕΡΟΥ ΜΙΑΣ ΧΡΗΣΗΣ-CM001904
Το προιόν είναι το Νουμερο: 11 στην εικόνα.
€0,64
+Καλάθι
+Σύγκριση
Προσθήκη στα αγαπημένα
ΜΠΟΥΖΙ CHAMPION RG6YC X9500-BE-NEX-LX150-438073
Το προιόν είναι το Νουμερο: 9 στην εικόνα.
€12,00
+Καλάθι
+Σύγκριση
Προσθήκη στα αγαπημένα
ΜΠΟΥΖΙ NGK CR7EB SCOOTER-638852
Το προιόν είναι το Νουμερο: 9 στην εικόνα.
€12,00
+Καλάθι
+Σύγκριση
Προσθήκη στα αγαπημένα
ΜΠΟΥΖΙ NIPPON DENSO U22ESR-N-641517
Το προιόν είναι το Νουμερο: 9 στην εικόνα.
€9,99
+Καλάθι
+Σύγκριση
Προσθήκη στα αγαπημένα
Ο-ΡΙΝΓΚ ΚΑΠΑΚΙΟΥ ΑΝΑΘΥΜ SCOOTER 125-300-1A003985
Το προιόν είναι το Νουμερο: 6 στην εικόνα.
€1,00
+Καλάθι
+Σύγκριση
Προσθήκη στα αγαπημένα
ΠΕΡΙΚΕΦΑΛΑΙΑ SCOOTER 125-150 4T ΑΝΩ-871762
Το προιόν είναι το Νουμερο: 15 στην εικόνα.
€9,99
+Καλάθι
+Σύγκριση
Προσθήκη στα αγαπημένα
ΠΕΡΙΚΕΦΑΛΑΙΑ SCOOTER 125-150 4T ΚΑΤΩ-871760
Το προιόν είναι το Νουμερο: 14 στην εικόνα.
€9,90
+Καλάθι
+Σύγκριση
Προσθήκη στα αγαπημένα
ΠΕΡΙΚΕΦΑΛΑΙΑ ΕΤ4 150-LΙΒ 150 4Τ ΑΝΩ-825421
Το προιόν είναι το Νουμερο: 14 στην εικόνα.
€12,00
+Καλάθι
+Σύγκριση
Προσθήκη στα αγαπημένα
ΣΩΛΗΝΑΚΙ ΕΞΑΕΡ ΛΑΔΙΟΥ VESPA ET4-842737
Το προιόν είναι το Νουμερο: 12 στην εικόνα.
€9,50
+Καλάθι
+Σύγκριση
Προσθήκη στα αγαπημένα
ΦΛΑΝΤΖΑ ΚΑΠΑΚΙΟΥ ΚΕΦΑΛΗΣ SC 125<>200 4Τ-825364
Το προιόν είναι το Νουμερο: 7 στην εικόνα.
€3,91
+Καλάθι
+Σύγκριση
Προσθήκη στα αγαπημένα
ΦΛΑΝΤΖΑ ΚΑΠΑΚΙΟΥ ΚΕΦΑΛΗΣ SC 125<>200 4Τ-8298176
Το προιόν είναι το Νουμερο: 3 στην εικόνα.
€3,00
+Καλάθι
+Σύγκριση
Προσθήκη στα αγαπημένα
ΦΛΑΝΤΖΑ ΚΑΠΑΚΙΟΥ==>>8298176-829817
Το προιόν είναι το Νουμερο: 3 στην εικόνα.
€2,60
+Καλάθι
+Σύγκριση
Προσθήκη στα αγαπημένα
Τα cookies μας βοηθούν να παρέχουμε τις υπηρεσίες μας. Με τη χρήση των υπηρεσιών μας, συμφωνείτε με τη χρήση των cookies.
ΟΚ
Μάθε περισσότερα