Εγγραφή
Σύνδεση
(0)
(0)
Δεν υπάρχουν προϊόντα στο καλάθι σας.
Αναζήτηση
Genuine Piaggio Group Parts
UpMap
Μοτοσυκλέτα
Scooter
Εξατμίσεις
Βάσεις κινητού, ActionCam, GPS
Λιπαντικά
Αναβάτης
Αντικλεπτικά
Μπαταρίες
Βιβλία
Πακέτα Συντήρησης Scooter/Moto
Motoholics e-Gift Card
Μεταχειρισμένα
Service
Μενου
Genuine Piaggio Group Parts
UpMap
Μοτοσυκλέτα
Scooter
Εξατμίσεις
Βάσεις κινητού, ActionCam, GPS
Λιπαντικά
Αναβάτης
Αντικλεπτικά
Μπαταρίες
Βιβλία
Πακέτα Συντήρησης Scooter/Moto
Motoholics e-Gift Card
Service
Αρχική σελίδα
/
Genuine Piaggio Group Parts
/
Piaggio
/
Scooter
/
Zip 50
/
Zip 50 4T NOABS E4 2018 - 2020 (EMEA) NSP8000U01
/
Κινητήρας
/
Μειωτήρας
Φιλτράρισμα με τιμή
Κατηγορίες
Genuine Piaggio Group Parts
UpMap
Μοτοσυκλέτα
Scooter
Εξατμίσεις
Βάσεις κινητού, ActionCam, GPS
Λιπαντικά
Αναβάτης
Αντικλεπτικά
Μπαταρίες
Βιβλία
Πακέτα Συντήρησης Scooter/Moto
Motoholics e-Gift Card
Κατασκευαστές
AKRAPOVIC
VICMA
Bart Factory
PMT TYRES
Barnett
ABUS
AFAM
Aprilia
Armadillo Covers
aSpecialParts
AWA TECH
AXP
Barkbusters
Beeline
Benelli
BITUBO
BMW
BONAMICI RACING
Brembo
BS BATTERY
Bullster
Cardo
CFMOTO
CMS
CNC Racing
Denicol Lubricants
DNA
domino
Double Take Mirrors
DPM RACE
Προβολή όλων
Είδατε πρόσφατα
ΡΟΔΕΛΑ-709047
ΡΟΔΕΛΑ-709047
ΒΙΔΑ M8X70 CL10,9-B016766
Δημοφιλεις ετικετες
aprilia
battery
exatmish
exhaust
hpcorse
hp-corse
silencer
slipon
slip-on
teliko
vespa
εξάτμιση
μπαταρια
σιλανσιέ
τελικό
Προβολή όλων
Μειωτήρας
40631|NSP8000U010001250010100450005||0041486|μειωτηρασ-162|Μειωτήρας
Προβολή ως
Πλέγμα
Λίστα
Ταξινόμηση ανά
Κορυφαίες επιλογές πρώτα
Αλφαβητικά Α - Ω
Αλφαβητικά Ω - Α
Αύξουσα τιμή
Φθίνουσα τιμή
Δημιουργήθηκε στις
Εμφάνιση
30
60
120
ανά σελίδα
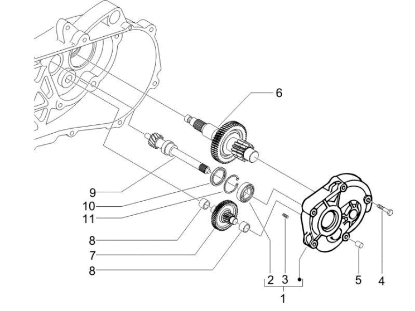
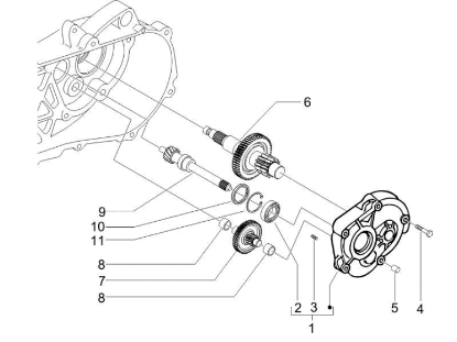
ΑΞΟΝΑΣ ΔΙΑΦΟΡΙΚΟΥ ZIP 50 4T (Z=13)-1A010794
Το προιόν είναι το Νουμερο: 9 στην εικόνα.
€46,00
+Καλάθι
+Σύγκριση
Προσθήκη στα αγαπημένα
ΑΞΟΝΑΣ ΠΙΣΩ ΤΡΟΧΟΥ ZIP 50 4T MY18<>20-1A017183
Το προιόν είναι το Νουμερο: 6 στην εικόνα.
€57,00
+Καλάθι
+Σύγκριση
Προσθήκη στα αγαπημένα
ΑΣΦΑΛΕΙΑ ΡΟΥΛΕΜΑΝ ΔΙΑΦ LIBERTY 40X43,5X1-480953
Το προιόν είναι το Νουμερο: 11 στην εικόνα.
€0,86
+Καλάθι
+Σύγκριση
Προσθήκη στα αγαπημένα
ΒΙΔΑ M6x40-1A011120
Το προιόν είναι το Νουμερο: 4 στην εικόνα.
€0,31
+Καλάθι
+Σύγκριση
Προσθήκη στα αγαπημένα
ΓΡΑΝΑΖΙ ΔΙΑΦ ΔΙΠΛΟ ΖΙΡ 50 4T MY18<>20-1A010798
Το προιόν είναι το Νουμερο: 7 στην εικόνα.
€46,00
+Καλάθι
+Σύγκριση
Προσθήκη στα αγαπημένα
ΔΑΧΤΥΛΙΔΙ ΑΞΟΝΑ ΔΙΑΦ SC 50-100 5mm-478197
Το προιόν είναι το Νουμερο: 5 στην εικόνα.
€3,70
+Καλάθι
+Σύγκριση
Προσθήκη στα αγαπημένα
ΚΑΠΑΚΙ ΔΙΑΦΟΡΙΚΟΥ SCOOTER 50 CC 2T 7/99>-4874805
Το προιόν είναι το Νουμερο: 1 στην εικόνα.
€95,00
+Καλάθι
+Σύγκριση
Προσθήκη στα αγαπημένα
ΟΔΗΓΟΣ ΚΑΡΤΕΡ SC 125<>530 D9.5, H15-B015956
Το προιόν είναι το Νουμερο: 3 στην εικόνα.
€0,55
+Καλάθι
+Σύγκριση
Προσθήκη στα αγαπημένα
ΡΟΔΕΛΛΑ ΑΠ ΔΙΑΦ TYPHOON-288639
Το προιόν είναι το Νουμερο: 8 στην εικόνα.
€0,74
+Καλάθι
+Σύγκριση
Προσθήκη στα αγαπημένα
ΡΟΥΛΕΜΑΝ 6203/C3H 40X17X12-435363
Το προιόν είναι το Νουμερο: 2 στην εικόνα.
€4,60
+Καλάθι
+Σύγκριση
Προσθήκη στα αγαπημένα
ΤΣΙΜΟΥΧΑ ΔΙΑΦ STAL-RUN 28X17X5-480066
Το προιόν είναι το Νουμερο: 10 στην εικόνα.
€9,30
+Καλάθι
+Σύγκριση
Προσθήκη στα αγαπημένα
Τα cookies μας βοηθούν να παρέχουμε τις υπηρεσίες μας. Με τη χρήση των υπηρεσιών μας, συμφωνείτε με τη χρήση των cookies.
ΟΚ
Μάθε περισσότερα