Εγγραφή
Σύνδεση
(0)
(0)
Δεν υπάρχουν προϊόντα στο καλάθι σας.
Αναζήτηση
Genuine Piaggio Group Parts
UpMap
Μοτοσυκλέτα
Scooter
Εξατμίσεις
Βάσεις κινητού, ActionCam, GPS
Λιπαντικά
Αναβάτης
Αντικλεπτικά
Μπαταρίες
Βιβλία
Πακέτα Συντήρησης Scooter/Moto
Motoholics e-Gift Card
Μεταχειρισμένα
Service
Μενου
Genuine Piaggio Group Parts
UpMap
Μοτοσυκλέτα
Scooter
Εξατμίσεις
Βάσεις κινητού, ActionCam, GPS
Λιπαντικά
Αναβάτης
Αντικλεπτικά
Μπαταρίες
Βιβλία
Πακέτα Συντήρησης Scooter/Moto
Motoholics e-Gift Card
Service
Αρχική σελίδα
/
Genuine Piaggio Group Parts
/
Piaggio
/
Scooter
/
X9 125
/
X9 125 Evolution NOABS E3 2007 (EMEA)
/
Αναρτήσεις - Τροχοί
/
Πιρούνι/σωλήνας τιμονιού - Σύνολο εδράνων ζεύξης
Φιλτράρισμα με τιμή
Κατηγορίες
Genuine Piaggio Group Parts
UpMap
Μοτοσυκλέτα
Scooter
Εξατμίσεις
Βάσεις κινητού, ActionCam, GPS
Λιπαντικά
Αναβάτης
Αντικλεπτικά
Μπαταρίες
Βιβλία
Πακέτα Συντήρησης Scooter/Moto
Motoholics e-Gift Card
Κατασκευαστές
AKRAPOVIC
VICMA
Bart Factory
PMT TYRES
Barnett
ABUS
AFAM
Aprilia
Armadillo Covers
aSpecialParts
AWA TECH
AXP
Barkbusters
Beeline
Benelli
BITUBO
BMW
BONAMICI RACING
Brembo
BS BATTERY
Bullster
Cardo
CFMOTO
CMS
CNC Racing
Denicol Lubricants
DNA
domino
Double Take Mirrors
DPM RACE
Προβολή όλων
Είδατε πρόσφατα
ΑΠΟΣΤΑΤΗΣ ΠΙΣΩ ΤΡΟΧΟΥ ΗΕΧ GTX/GT200/Χ8-597528
ΑΠΟΣΤΑΤΗΣ ΠΙΣΩ ΤΡΟΧΟΥ ΗΕΧ GTX/GT200/Χ8-597528
ΣΤΑΘΕΡΟΠΟΙΗΤΗΣ BEV-Χ7-Χ8-SK150-FL-LX150-58090R6
Δημοφιλεις ετικετες
aprilia
battery
exatmish
exhaust
hpcorse
hp-corse
silencer
slipon
slip-on
teliko
vespa
εξάτμιση
μπαταρια
σιλανσιέ
τελικό
Προβολή όλων
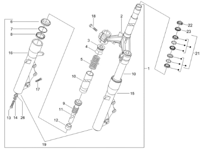
Πιρούνι/σωλήνας τιμονιού - Σύνολο εδράνων ζεύξης
39241|NGT3000U050004020010100390001||0040098|πιρουνισωληνασ-τιμονιου-συνολο-εδρανων-ζευξησ-143|Πιρούνι/σωλήνας τιμονιού - Σύνολο εδράνων ζεύξης
Προβολή ως
Πλέγμα
Λίστα
Ταξινόμηση ανά
Κορυφαίες επιλογές πρώτα
Αλφαβητικά Α - Ω
Αλφαβητικά Ω - Α
Αύξουσα τιμή
Φθίνουσα τιμή
Δημιουργήθηκε στις
Εμφάνιση
30
60
120
ανά σελίδα
ΑΣΦΑΛΕΙΑ ΠΙΡΟΥΝΙΟΥ Χ8-497132
Το προιόν είναι το Νουμερο: 7 στην εικόνα.
€2,70
+Καλάθι
+Σύγκριση
Προσθήκη στα αγαπημένα
ΒΙΔΑ ΠΙΡΟΥΝΙΟΥ GP800-BEV-RUNN-X8-X9-XEV-599269
Το προιόν είναι το Νουμερο: 13 στην εικόνα.
€1,10
+Καλάθι
+Σύγκριση
Προσθήκη στα αγαπημένα
ΒΙΔΑ ΠΙΡΟΥΝΙΟΥ GP800-X7 125-200-649019
Το προιόν είναι το Νουμερο: 18 στην εικόνα.
€2,29
+Καλάθι
+Σύγκριση
Προσθήκη στα αγαπημένα
ΒΙΔΑ ΠΙΡΟΥΝΙΟΥ-649619
Το προιόν είναι το Νουμερο: 17 στην εικόνα.
€0,95
+Καλάθι
+Σύγκριση
Προσθήκη στα αγαπημένα
ΕΛΑΤΗΡΙΟ ΠΙΡΟΥΝΙΟΥ X8-X9-X EVO-600614
Το προιόν είναι το Νουμερο: 5 στην εικόνα.
€8,00
+Καλάθι
+Σύγκριση
Προσθήκη στα αγαπημένα
ΕΛΑΤΗΡΙΟ ΠΙΡΟΥΝΙΟΥ X8-X9-X EVO-NEXUS-601309
Το προιόν είναι το Νουμερο: 5 στην εικόνα.
€4,40
+Καλάθι
+Σύγκριση
Προσθήκη στα αγαπημένα
ΕΛΑΤΗΡΙΟ ΠΙΡΟΥΝΙΟΥ Χ8 ΜΙΚΡΟ-599421
Το προιόν είναι το Νουμερο: 9 στην εικόνα.
€1,00
+Καλάθι
+Σύγκριση
Προσθήκη στα αγαπημένα
ΚΑΛΑΜΙ ΠΙΡΟΥΝΙΟΥ Χ8-X9 250 ESC-600607
Το προιόν είναι το Νουμερο: 10 στην εικόνα.
€54,00
+Καλάθι
+Σύγκριση
Προσθήκη στα αγαπημένα
ΚΑΛΑΜΙ ΠΙΡΟΥΝΙΟΥ Χ9125-250EVO-Χ8-NEX KA-601307
Το προιόν είναι το Νουμερο: 10 στην εικόνα.
€38,01
+Καλάθι
+Σύγκριση
Προσθήκη στα αγαπημένα
ΛΑΣΤΙΧΑΚΙ ΠΙΡΟΥΝΙΟΥ X8-X9-RUNNER-BEV-600612
Το προιόν είναι το Νουμερο: 8 στην εικόνα.
€1,00
+Καλάθι
+Σύγκριση
Προσθήκη στα αγαπημένα
ΛΑΣΤΙΧΑΚΙ-599270
Το προιόν είναι το Νουμερο: 14 στην εικόνα.
€0,55
+Καλάθι
+Σύγκριση
Προσθήκη στα αγαπημένα
ΜΠΟΥΚΑΛΑ ΠΙΡΟΥΝΙΟΥ Χ7-Χ8-Χ9-EVO ΚΥΒ ΑΡΙΣ-497005
Το προιόν είναι το Νουμερο: 15 στην εικόνα.
€273,00
+Καλάθι
+Σύγκριση
Προσθήκη στα αγαπημένα
ΜΠΟΥΚΑΛΑ ΠΙΡΟΥΝΙΟΥ Χ7-Χ8-Χ9-EVO ΚΥΒ ΔΕΞ-497006
Το προιόν είναι το Νουμερο: 16 στην εικόνα.
€264,00
+Καλάθι
+Σύγκριση
Προσθήκη στα αγαπημένα
ΜΠΟΥΚΑΛΑ ΠΙΡΟΥΝΙΟΥ Χ8-Χ9 250EVO ESC ΑΡ-600603
Το προιόν είναι το Νουμερο: 15 στην εικόνα.
€173,00
+Καλάθι
+Σύγκριση
Προσθήκη στα αγαπημένα
ΜΠΟΥΚΑΛΑ ΠΙΡΟΥΝΙΟΥ Χ8-Χ9 250EVO ESC ΔΕΞ-600604
Το προιόν είναι το Νουμερο: 16 στην εικόνα.
€138,00
+Καλάθι
+Σύγκριση
Προσθήκη στα αγαπημένα
ΞΥΣΤΡΑ ΠΙΡΟΥΝΙΟΥ BEV-XEVO-X8-X9 125<>250-600613
Το προιόν είναι το Νουμερο: 6 στην εικόνα.
€14,00
+Καλάθι
+Σύγκριση
Προσθήκη στα αγαπημένα
ΞΥΣΤΡΑ ΠΙΡΟΥΝΙΟΥ Χ8-Χ9 125-500 35-48-5 K-600269
Το προιόν είναι το Νουμερο: 6 στην εικόνα.
€17,00
+Καλάθι
+Σύγκριση
Προσθήκη στα αγαπημένα
Ο-ΡΙΝΓΚ ΠΙΡΟΥΝΙΟΥ Χ9 500-497017
Το προιόν είναι το Νουμερο: 4 στην εικόνα.
€0,31
+Καλάθι
+Σύγκριση
Προσθήκη στα αγαπημένα
ΠΑΞΙΜΑΔΙ ΠΙΡΟΥΝΙΟΥ VESPA-SCOOTER ΑΝΩ-0111094
Το προιόν είναι το Νουμερο: 22 στην εικόνα.
€2,19
+Καλάθι
+Σύγκριση
Προσθήκη στα αγαπημένα
ΠΙΡΟΥΝΙ Χ8 125-150-Χ9 250-X EVO-56267R5
Το προιόν είναι το Νουμερο: 1 στην εικόνα.
€357,00
+Καλάθι
+Σύγκριση
Προσθήκη στα αγαπημένα
ΠΟΤΗΡΙ ΠΙΡΟΥΝΙΟΥ VESPA (ΠΑΞΙΜΑΔΙ) 1,5/7-226156
Το προιόν είναι το Νουμερο: 22 στην εικόνα.
€7,80
+Καλάθι
+Σύγκριση
Προσθήκη στα αγαπημένα
ΠΟΤΗΡΙΑ ΠΙΡΟΥΝΙΟΥ==>>6009216-6009215
Το προιόν είναι το Νουμερο: 21 στην εικόνα.
€45,00
+Καλάθι
+Σύγκριση
Προσθήκη στα αγαπημένα
ΡΟΔΕΛΛΑ ΠΙΡΟΥΝΙΟΥ RUNNER FX/R-VX/R.-582787
Το προιόν είναι το Νουμερο: 23 στην εικόνα.
€1,00
+Καλάθι
+Σύγκριση
Προσθήκη στα αγαπημένα
ΣΤΑΥΡΟΣ ΠΙΡΟΥΝΙΟΥ Χ8 125-Χ9 125-250 KAYA-647322
Το προιόν είναι το Νουμερο: 2 στην εικόνα.
€189,00
+Καλάθι
+Σύγκριση
Προσθήκη στα αγαπημένα
ΤΑΠΑ ΛΑΔΙΟΥ ΠΥΡΟΥΝΙΟΥ-497011
Το προιόν είναι το Νουμερο: 12 στην εικόνα.
€7,50
+Καλάθι
+Σύγκριση
Προσθήκη στα αγαπημένα
ΤΑΠΑ ΠΙΡΟΥΝΙΟΥ NEXUS 125-300/SR 300-601312
Το προιόν είναι το Νουμερο: 3 στην εικόνα.
€8,61
+Καλάθι
+Σύγκριση
Προσθήκη στα αγαπημένα
ΤΑΠΑ ΠΙΡΟΥΝΙΟΥ-601026
Το προιόν είναι το Νουμερο: 26 στην εικόνα.
€0,81
+Καλάθι
+Σύγκριση
Προσθήκη στα αγαπημένα
ΤΣΙΜΟΥΧΑ ΠΙΡΟΥΝ BEV-XEVO-X8-X9 35Χ48Χ11-600608
Το προιόν είναι το Νουμερο: 7 στην εικόνα.
€6,60
+Καλάθι
+Σύγκριση
Προσθήκη στα αγαπημένα
ΤΣΙΜΟΥΧΑ ΠΙΡΟΥΝ BE-Χ8-Χ9-NEX 35Χ48Χ8 KAY-601310
Το προιόν είναι το Νουμερο: 8 στην εικόνα.
€9,99
+Καλάθι
+Σύγκριση
Προσθήκη στα αγαπημένα
ΤΣΙΜΟΥΧΑ ΠΙΡΟΥΝ SMT-RCR K 6822 48X11X35-00H00204471
Το προιόν είναι το Νουμερο: 7 στην εικόνα.
€23,99
+Καλάθι
+Σύγκριση
Προσθήκη στα αγαπημένα
1
2
Επόμενο
Τα cookies μας βοηθούν να παρέχουμε τις υπηρεσίες μας. Με τη χρήση των υπηρεσιών μας, συμφωνείτε με τη χρήση των cookies.
ΟΚ
Μάθε περισσότερα