Εγγραφή
Σύνδεση
(0)
(0)
Δεν υπάρχουν προϊόντα στο καλάθι σας.
Αναζήτηση
Genuine Piaggio Group Parts
UpMap
Μοτοσυκλέτα
Scooter
Εξατμίσεις
Βάσεις κινητού, ActionCam, GPS
Λιπαντικά
Αναβάτης
Αντικλεπτικά
Μπαταρίες
Βιβλία
Πακέτα Συντήρησης Scooter/Moto
Motoholics e-Gift Card
Μεταχειρισμένα
Service
Μενου
Genuine Piaggio Group Parts
UpMap
Μοτοσυκλέτα
Scooter
Εξατμίσεις
Βάσεις κινητού, ActionCam, GPS
Λιπαντικά
Αναβάτης
Αντικλεπτικά
Μπαταρίες
Βιβλία
Πακέτα Συντήρησης Scooter/Moto
Motoholics e-Gift Card
Service
Αρχική σελίδα
/
Genuine Piaggio Group Parts
/
Gilera
/
Scooter
/
Runner 50
/
Runner 50 SP -SC- 2006
/
Πλαίσιο - Πλαστικά μέρη - Αμαξώματα
/
Πλαϊνά καπάκια - Σπόιλερ
Φιλτράρισμα με τιμή
Κατηγορίες
Genuine Piaggio Group Parts
UpMap
Μοτοσυκλέτα
Scooter
Εξατμίσεις
Βάσεις κινητού, ActionCam, GPS
Λιπαντικά
Αναβάτης
Αντικλεπτικά
Μπαταρίες
Βιβλία
Πακέτα Συντήρησης Scooter/Moto
Motoholics e-Gift Card
Κατασκευαστές
AKRAPOVIC
VICMA
Bart Factory
PMT TYRES
Barnett
CHT CHIARAVALLI
MAXIMA RACING OILS
ABUS
AFAM
Aprilia
Armadillo Covers
aSpecialParts
AWA TECH
AXP
Barkbusters
Beeline
Benelli
BITUBO
BMW
BONAMICI RACING
Brembo
BS BATTERY
Bullster
Cardo
CFMOTO
CMS
CNC Racing
Denicol Lubricants
DNA
domino
Προβολή όλων
Είδατε πρόσφατα
ΒΑΣΗ ΠΙΣΩ ΔΙΣΚΟΦΡ RUN-STALK-MC2-56111R
ΡΟΔΕΛΑ ΜΠΟΥΚΑΛΑΣ RUNNER-NRG-GP1-494810
ΡΟΔΕΛΑ ΜΠΟΥΚΑΛΑΣ RUNNER-NRG-GP1-494810
Δημοφιλεις ετικετες
aprilia
battery
exatmish
exhaust
hpcorse
hp-corse
silencer
slipon
slip-on
teliko
vespa
εξάτμιση
μπαταρια
σιλανσιέ
τελικό
Προβολή όλων
Πλαϊνά καπάκια - Σπόιλερ
40907|NSRA000U050002320020200070011||0041762|πλαινα-καπακια-σποιλερ-177|Πλαϊνά καπάκια - Σπόιλερ
Προβολή ως
Πλέγμα
Λίστα
Ταξινόμηση ανά
Κορυφαίες επιλογές πρώτα
Αλφαβητικά Α - Ω
Αλφαβητικά Ω - Α
Αύξουσα τιμή
Φθίνουσα τιμή
Δημιουργήθηκε στις
Εμφάνιση
30
60
120
ανά σελίδα
ΑΝΑΚΛΑΣΤΗΡΑΣ ΠΛΕΥΡΟΥ ΖΙΡ 4Τ-ΕΤ4-NRG-LX-58231R5
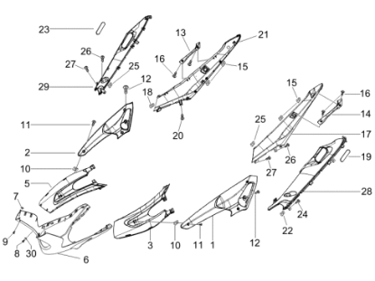
Το προιόν είναι το Νουμερο: 19 στην εικόνα.
€3,60
+Καλάθι
+Σύγκριση
Προσθήκη στα αγαπημένα
ΑΣΦΑΛΕΙΑ ΜΕΓΑΛΗ (8Χ125 MM)-575268
Το προιόν είναι το Νουμερο: 15 στην εικόνα.
€0,81
+Καλάθι
+Σύγκριση
Προσθήκη στα αγαπημένα
ΑΣΦΑΛΕΙΑ ΜΕΣΑΙΑ ΓΙΑ ΛΑΜΑΡΙΝΟΒΙΔΑ ΣΕ ΠΛ-CM017410
Το προιόν είναι το Νουμερο: 10 στην εικόνα.
€0,11
+Καλάθι
+Σύγκριση
Προσθήκη στα αγαπημένα
ΑΣΦΑΛΕΙΑ ΠΛΕΥΡΩΝ-ΚΑΠΑΚΙΟΥ DIG ΟΘΟΝ Χ9-CM017409
Το προιόν είναι το Νουμερο: 10 στην εικόνα.
€0,06
+Καλάθι
+Σύγκριση
Προσθήκη στα αγαπημένα
ΒΙΔΑ (970162)-970273
Το προιόν είναι το Νουμερο: 16 στην εικόνα.
€0,25
+Καλάθι
+Σύγκριση
Προσθήκη στα αγαπημένα
ΒΙΔΑ 4,2X13-259349
Το προιόν είναι το Νουμερο: 11 στην εικόνα.
€0,06
+Καλάθι
+Σύγκριση
Προσθήκη στα αγαπημένα
ΒΙΔΑ M3x12-297498
Το προιόν είναι το Νουμερο: 8 στην εικόνα.
€0,04
+Καλάθι
+Σύγκριση
Προσθήκη στα αγαπημένα
ΒΙΔΑ-959614
Το προιόν είναι το Νουμερο: 12 στην εικόνα.
€0,29
+Καλάθι
+Σύγκριση
Προσθήκη στα αγαπημένα
ΚΑΠΑΚΙ ΚΕΝΤΡΙΚΟ RUNNER RST-ST ΑΡΙΣΤ-949407000C
Το προιόν είναι το Νουμερο: 3 στην εικόνα.
€20,00
+Καλάθι
+Σύγκριση
Προσθήκη στα αγαπημένα
ΚΑΠΑΚΙ ΚΕΝΤΡΙΚΟ RUNNER RST-ST ΔΕΞΙΟ-949408000C
Το προιόν είναι το Νουμερο: 5 στην εικόνα.
€20,00
+Καλάθι
+Σύγκριση
Προσθήκη στα αγαπημένα
ΚΑΠΑΚΙ ΠΛΑΙΝΟ ΑΡ ΠΙΣΩ RUNNER RST ΜΑΥΡΟ-949417000C
Το προιόν είναι το Νουμερο: 28 στην εικόνα.
€23,99
+Καλάθι
+Σύγκριση
Προσθήκη στα αγαπημένα
ΚΑΠΑΚΙ ΠΛΑΙΝΟ ΔΕ ΠΙΣΩ RUNNER RST ΜΑΥΡΟ-949418000C
Το προιόν είναι το Νουμερο: 29 στην εικόνα.
€25,00
+Καλάθι
+Σύγκριση
Προσθήκη στα αγαπημένα
ΠΛΕΥΡΟ ΑΡ GILERA RUNNER RST ΜΠΡΟΣ AΒΑΦΟ-949437
Το προιόν είναι το Νουμερο: 1 στην εικόνα.
€32,00
+Καλάθι
+Σύγκριση
Προσθήκη στα αγαπημένα
ΠΛΕΥΡΟ ΑΡ GILERA RUNNER RST ΜΠΡΟΣ ΓΚΡΙ-94943700EM
Το προιόν είναι το Νουμερο: 1 στην εικόνα.
€82,00
+Καλάθι
+Σύγκριση
Προσθήκη στα αγαπημένα
ΠΛΕΥΡΟ ΑΡ RUNNER RST-ST AΒΑΦΟ-949413
Το προιόν είναι το Νουμερο: 17 στην εικόνα.
€37,00
+Καλάθι
+Σύγκριση
Προσθήκη στα αγαπημένα
ΠΛΕΥΡΟ ΑΡ RUNNER RST-ST NERO 94-9494136090
Το προιόν είναι το Νουμερο: 17 στην εικόνα.
€90,00
+Καλάθι
+Σύγκριση
Προσθήκη στα αγαπημένα
ΠΛΕΥΡΟ ΔΕ GILERA RUNNER RST ΜΠΡΟΣ AΒΑΦΟ-949438
Το προιόν είναι το Νουμερο: 2 στην εικόνα.
€32,00
+Καλάθι
+Σύγκριση
Προσθήκη στα αγαπημένα
ΠΛΕΥΡΟ ΔΕ RUNNER RST-ST AΒΑΦΟ-949412
Το προιόν είναι το Νουμερο: 21 στην εικόνα.
€37,00
+Καλάθι
+Σύγκριση
Προσθήκη στα αγαπημένα
ΠΛΕΥΡΟ ΔΕ RUNNER RST-ST NERO 94-9494120090
Το προιόν είναι το Νουμερο: 21 στην εικόνα.
€64,00
+Καλάθι
+Σύγκριση
Προσθήκη στα αγαπημένα
ΡΟΔΕΛΑ-013763
Το προιόν είναι το Νουμερο: 30 στην εικόνα.
€0,72
+Καλάθι
+Σύγκριση
Προσθήκη στα αγαπημένα
ΣΠΟΙΛΕΡ GILERA RUNNER RST-ST NERO-6565236090
Το προιόν είναι το Νουμερο: 6 στην εικόνα.
€130,00
+Καλάθι
+Σύγκριση
Προσθήκη στα αγαπημένα
ΣΠΟΙΛΕΡ GILERA RUNNER RST-ST ΜΑΥΡΟ AKAT-6565236
Το προιόν είναι το Νουμερο: 6 στην εικόνα.
€71,00
+Καλάθι
+Σύγκριση
Προσθήκη στα αγαπημένα
ΧΕΙΡΟΛΑΒΗ ΠΙΣΩ RUNNER RST ΑΡ ΚΟΚΚ 894-62410800R7
Το προιόν είναι το Νουμερο: 14 στην εικόνα.
€42,00
+Καλάθι
+Σύγκριση
Προσθήκη στα αγαπημένα
ΧΕΙΡΟΛΑΒΗ ΠΙΣΩ RUNNER RST ΔΕ ΓΚΡΙ ST 17-62410900EE
Το προιόν είναι το Νουμερο: 13 στην εικόνα.
€69,01
+Καλάθι
+Σύγκριση
Προσθήκη στα αγαπημένα
ΧΕΙΡΟΛΑΒΗ ΠΙΣΩ RUNNER RST-ST ΑΝΘΡΑΚ ΔΕΞ-62410900EQ
Το προιόν είναι το Νουμερο: 13 στην εικόνα.
€67,00
+Καλάθι
+Σύγκριση
Προσθήκη στα αγαπημένα
ΧΕΙΡΟΛΑΒΗ ΠΙΣΩ RUNNER RST-ST ΑΝΘΡΑΚΙ ΑΡ-62410800EQ
Το προιόν είναι το Νουμερο: 14 στην εικόνα.
€67,00
+Καλάθι
+Σύγκριση
Προσθήκη στα αγαπημένα
ΧΕΙΡΟΛΑΒΗ ΠΙΣΩ RUNNER RST-ST ΑΡ NERO-656035000C
Το προιόν είναι το Νουμερο: 14 στην εικόνα.
€37,00
+Καλάθι
+Σύγκριση
Προσθήκη στα αγαπημένα
ΧΕΙΡΟΛΑΒΗ ΠΙΣΩ RUNNER RST-ST ΔΕ NERO-656034000C
Το προιόν είναι το Νουμερο: 13 στην εικόνα.
€37,00
+Καλάθι
+Σύγκριση
Προσθήκη στα αγαπημένα
Τα cookies μας βοηθούν να παρέχουμε τις υπηρεσίες μας. Με τη χρήση των υπηρεσιών μας, συμφωνείτε με τη χρήση των cookies.
ΟΚ
Μάθε περισσότερα