Εγγραφή
Σύνδεση
(0)
(0)
Δεν υπάρχουν προϊόντα στο καλάθι σας.
Αναζήτηση
Genuine Piaggio Group Parts
UpMap
Μοτοσυκλέτα
Scooter
Εξατμίσεις
Βάσεις κινητού, ActionCam, GPS
Λιπαντικά
Αναβάτης
Αντικλεπτικά
Μπαταρίες
Βιβλία
Πακέτα Συντήρησης Scooter/Moto
Motoholics e-Gift Card
Μεταχειρισμένα
Service
Μενου
Genuine Piaggio Group Parts
UpMap
Μοτοσυκλέτα
Scooter
Εξατμίσεις
Βάσεις κινητού, ActionCam, GPS
Λιπαντικά
Αναβάτης
Αντικλεπτικά
Μπαταρίες
Βιβλία
Πακέτα Συντήρησης Scooter/Moto
Motoholics e-Gift Card
Service
Αρχική σελίδα
/
Genuine Piaggio Group Parts
/
Piaggio
/
Scooter
/
MP3 400
/
MP3 400 RL Touring 2011
/
Πλαίσιο - Πλαστικά μέρη - Αμαξώματα
/
Πλαϊνά καπάκια - Σπόιλερ
Φιλτράρισμα με τιμή
Κατηγορίες
Genuine Piaggio Group Parts
UpMap
Μοτοσυκλέτα
Scooter
Εξατμίσεις
Βάσεις κινητού, ActionCam, GPS
Λιπαντικά
Αναβάτης
Αντικλεπτικά
Μπαταρίες
Βιβλία
Πακέτα Συντήρησης Scooter/Moto
Motoholics e-Gift Card
Κατασκευαστές
AKRAPOVIC
VICMA
Bart Factory
PMT TYRES
Barnett
CHT CHIARAVALLI
ABUS
AFAM
Aprilia
Armadillo Covers
aSpecialParts
AWA TECH
AXP
Barkbusters
Beeline
Benelli
BITUBO
BMW
BONAMICI RACING
Brembo
BS BATTERY
Bullster
Cardo
CFMOTO
CMS
CNC Racing
Denicol Lubricants
DNA
domino
Double Take Mirrors
Προβολή όλων
Είδατε πρόσφατα
ΛΑΜΠΑ 12V-35/35W BA20d S2 Χ.ΝΤ PHILIPS-UGL12728C1
ΠΟΡΤΑΚΙ ΜΠΑΓΚΑΖ MP3 ΓΚΡΙ 713-62445560EV
ΤΡΟΜΠΑ ΦΡ RUN VX/R-ST-V.GT-FLY150 ΔΕΞ ±-CM074901
Δημοφιλεις ετικετες
aprilia
battery
exatmish
exhaust
hpcorse
hp-corse
silencer
slipon
slip-on
teliko
vespa
εξάτμιση
μπαταρια
σιλανσιέ
τελικό
Προβολή όλων
Πλαϊνά καπάκια - Σπόιλερ
44222|NTR6000U060002320010100230005||0045048|πλαινα-καπακια-σποιλερ-235|Πλαϊνά καπάκια - Σπόιλερ
Προβολή ως
Πλέγμα
Λίστα
Ταξινόμηση ανά
Κορυφαίες επιλογές πρώτα
Αλφαβητικά Α - Ω
Αλφαβητικά Ω - Α
Αύξουσα τιμή
Φθίνουσα τιμή
Δημιουργήθηκε στις
Εμφάνιση
30
60
120
ανά σελίδα
ΑΠΟΜΟΝΩΤΗΡΑΣ-583310
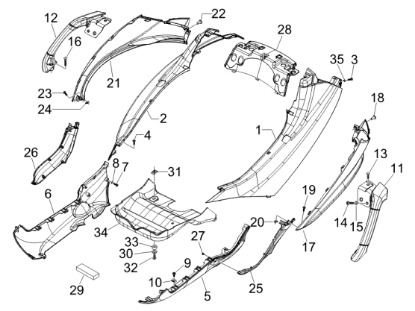
Το προιόν είναι το Νουμερο: 29 στην εικόνα.
€1,10
+Καλάθι
+Σύγκριση
Προσθήκη στα αγαπημένα
ΑΣΦΑΛΕΙΑ ΜΕΓΑΛΗ (6Χ100 MM)-254485
Το προιόν είναι το Νουμερο: 31 στην εικόνα.
€0,46
+Καλάθι
+Σύγκριση
Προσθήκη στα αγαπημένα
ΑΣΦΑΛΕΙΑ ΜΕΣΑΙΑ ΓΙΑ ΛΑΜΑΡΙΝΟΒΙΔΑ ΣΕ ΠΛ-CM017410
Το προιόν είναι το Νουμερο: 10 στην εικόνα.
€0,11
+Καλάθι
+Σύγκριση
Προσθήκη στα αγαπημένα
ΑΣΦΑΛΕΙΑ ΠΛΕΥΡΩΝ-ΚΑΠΑΚΙΟΥ DIG ΟΘΟΝ Χ9-CM017409
Το προιόν είναι το Νουμερο: 10 στην εικόνα.
€0,06
+Καλάθι
+Σύγκριση
Προσθήκη στα αγαπημένα
ΒΙΔΑ D3,8x16-270793
Το προιόν είναι το Νουμερο: 7 στην εικόνα.
€0,06
+Καλάθι
+Σύγκριση
Προσθήκη στα αγαπημένα
ΒΙΔΑ M3x12-297498
Το προιόν είναι το Νουμερο: 27 στην εικόνα.
€0,04
+Καλάθι
+Σύγκριση
Προσθήκη στα αγαπημένα
ΒΙΔΑ M4,2x19 (ΛΑΜΑΡΙΝΟΒΙΔΑ)-258249
Το προιόν είναι το Νουμερο: 4 στην εικόνα.
€0,06
+Καλάθι
+Σύγκριση
Προσθήκη στα αγαπημένα
ΒΙΔΑ M6X16.-272836
Το προιόν είναι το Νουμερο: 3 στην εικόνα.
€0,10
+Καλάθι
+Σύγκριση
Προσθήκη στα αγαπημένα
ΒΙΔΑ M6x22 ΜΕ ΑΠΟΣΤΑΤΗ-575249
Το προιόν είναι το Νουμερο: 18 στην εικόνα.
€1,30
+Καλάθι
+Σύγκριση
Προσθήκη στα αγαπημένα
ΒΙΔΑ M6X40 ΜΑΡΣΠΙΕ ΜΑΚΡΥΑ-CM179304
Το προιόν είναι το Νουμερο: 14 στην εικόνα.
€0,24
+Καλάθι
+Σύγκριση
Προσθήκη στα αγαπημένα
ΒΙΔΑ SCOOTER-259830
Το προιόν είναι το Νουμερο: 3 στην εικόνα.
€0,07
+Καλάθι
+Σύγκριση
Προσθήκη στα αγαπημένα
ΒΙΔΑ TORX M6x22-CM179201
Το προιόν είναι το Νουμερο: 18 στην εικόνα.
€0,12
+Καλάθι
+Σύγκριση
Προσθήκη στα αγαπημένα
ΒΙΔΑ TORX M6x22-CM179302
Το προιόν είναι το Νουμερο: 3 στην εικόνα.
€0,10
+Καλάθι
+Σύγκριση
Προσθήκη στα αγαπημένα
ΒΙΔΑ TORX ΛΑΜΑΡΙΝΟΒΙΔΑ-CM178601
Το προιόν είναι το Νουμερο: 19 στην εικόνα.
€0,19
+Καλάθι
+Σύγκριση
Προσθήκη στα αγαπημένα
ΒΙΔΑ TORX-CM178604
Το προιόν είναι το Νουμερο: 4 στην εικόνα.
€0,07
+Καλάθι
+Σύγκριση
Προσθήκη στα αγαπημένα
ΚΑΠΑΚΙ ΣΠΟΙΛΕΡ ΑΡ MP3-653201400C
Το προιόν είναι το Νουμερο: 25 στην εικόνα.
€29,00
+Καλάθι
+Σύγκριση
Προσθήκη στα αγαπημένα
ΚΑΠΑΚΙ ΣΠΟΙΛΕΡ ΔΕ MP3-FUOCO-624451000C
Το προιόν είναι το Νουμερο: 26 στην εικόνα.
€12,00
+Καλάθι
+Σύγκριση
Προσθήκη στα αγαπημένα
ΚΑΠΑΚΙ ΣΥΝΔ ΠΛΕΥΡ MP3-655807
Το προιόν είναι το Νουμερο: 28 στην εικόνα.
€21,01
+Καλάθι
+Σύγκριση
Προσθήκη στα αγαπημένα
ΜΠΟΥΖΟΝΙ-031122
Το προιόν είναι το Νουμερο: 13 στην εικόνα.
€1,80
+Καλάθι
+Σύγκριση
Προσθήκη στα αγαπημένα
ΠΛΕΥΡΟ ΑΡ MP3 250 AΒΑΦΟ-624446
Το προιόν είναι το Νουμερο: 1 στην εικόνα.
€73,00
+Καλάθι
+Σύγκριση
Προσθήκη στα αγαπημένα
ΠΛΕΥΡΟ ΑΡ MP3 250 ΜΠΛΕ BLU MID 222-62444660DE
Το προιόν είναι το Νουμερο: 1 στην εικόνα.
€217,00
+Καλάθι
+Σύγκριση
Προσθήκη στα αγαπημένα
ΠΛΕΥΡΟ ΑΡ MP3 ΓΚΡΙ 713-62444660EV
Το προιόν είναι το Νουμερο: 1 στην εικόνα.
€217,00
+Καλάθι
+Σύγκριση
Προσθήκη στα αγαπημένα
ΠΛΕΥΡΟ ΑΡ MP3 ΚΟΚΚ 849/A-62444600RR
Το προιόν είναι το Νουμερο: 1 στην εικόνα.
€212,00
+Καλάθι
+Σύγκριση
Προσθήκη στα αγαπημένα
ΠΛΕΥΡΟ ΑΡ MP3 ΜΑΥΡΟ 98/Α-62444660XN2
Το προιόν είναι το Νουμερο: 1 στην εικόνα.
€224,01
+Καλάθι
+Σύγκριση
Προσθήκη στα αγαπημένα
ΠΛΕΥΡΟ ΔΕ MP3 250 AΒΑΦΟ-624447
Το προιόν είναι το Νουμερο: 2 στην εικόνα.
€73,00
+Καλάθι
+Σύγκριση
Προσθήκη στα αγαπημένα
ΠΛΕΥΡΟ ΔΕ MP3 250 ΜΠΛΕ BLU MID 222-62444760DE
Το προιόν είναι το Νουμερο: 2 στην εικόνα.
€217,00
+Καλάθι
+Σύγκριση
Προσθήκη στα αγαπημένα
ΠΛΕΥΡΟ ΔΕ MP3 ΓΚΡΙ 713-62444700EV
Το προιόν είναι το Νουμερο: 2 στην εικόνα.
€224,01
+Καλάθι
+Σύγκριση
Προσθήκη στα αγαπημένα
ΠΛΕΥΡΟ ΔΕ MP3 ΚΟΚΚ 849/A-62444700RR
Το προιόν είναι το Νουμερο: 2 στην εικόνα.
€217,00
+Καλάθι
+Σύγκριση
Προσθήκη στα αγαπημένα
ΠΛΕΥΡΟ ΔΕ MP3 ΜΑΥΡΟ 98/A-62444760XN2
Το προιόν είναι το Νουμερο: 2 στην εικόνα.
€217,00
+Καλάθι
+Σύγκριση
Προσθήκη στα αγαπημένα
ΠΡΟΣΤ/ΚΟ ΠΛΕΥΡΟΥ MP3 125<>400 ΑΡΙΣΤΕΡΟ-624448000C
Το προιόν είναι το Νουμερο: 17 στην εικόνα.
€23,99
+Καλάθι
+Σύγκριση
Προσθήκη στα αγαπημένα
1
2
Επόμενο
Τα cookies μας βοηθούν να παρέχουμε τις υπηρεσίες μας. Με τη χρήση των υπηρεσιών μας, συμφωνείτε με τη χρήση των cookies.
ΟΚ
Μάθε περισσότερα