Εγγραφή
Σύνδεση
(0)
(0)
Δεν υπάρχουν προϊόντα στο καλάθι σας.
Αναζήτηση
Genuine Piaggio Group Parts
UpMap
Μοτοσυκλέτα
Scooter
Εξατμίσεις
Βάσεις κινητού, ActionCam, GPS
Λιπαντικά
Αναβάτης
Αντικλεπτικά
Μπαταρίες
Βιβλία
Πακέτα Συντήρησης Scooter/Moto
Motoholics e-Gift Card
Μεταχειρισμένα
Service
Μενου
Genuine Piaggio Group Parts
UpMap
Μοτοσυκλέτα
Scooter
Εξατμίσεις
Βάσεις κινητού, ActionCam, GPS
Λιπαντικά
Αναβάτης
Αντικλεπτικά
Μπαταρίες
Βιβλία
Πακέτα Συντήρησης Scooter/Moto
Motoholics e-Gift Card
Service
Αρχική σελίδα
/
Genuine Piaggio Group Parts
/
Piaggio
/
Scooter
/
-HISTORICAL CATALOGS 1998-2005
/
Hexagon 125
/
Πλαίσιο
/
ΠΛΑΪΝΑ ΦΕΡΙΝΓΚ ΕΠΑΝΩ
Φιλτράρισμα με τιμή
Κατηγορίες
Genuine Piaggio Group Parts
UpMap
Μοτοσυκλέτα
Scooter
Εξατμίσεις
Βάσεις κινητού, ActionCam, GPS
Λιπαντικά
Αναβάτης
Αντικλεπτικά
Μπαταρίες
Βιβλία
Πακέτα Συντήρησης Scooter/Moto
Motoholics e-Gift Card
Κατασκευαστές
AKRAPOVIC
VICMA
Bart Factory
PMT TYRES
Barnett
ABUS
AFAM
Aprilia
Armadillo Covers
aSpecialParts
AWA TECH
AXP
Barkbusters
Beeline
Benelli
BITUBO
BMW
BONAMICI RACING
Brembo
BS BATTERY
Bullster
Cardo
CFMOTO
CMS
CNC Racing
Denicol Lubricants
DNA
domino
Double Take Mirrors
DPM RACE
Προβολή όλων
Είδατε πρόσφατα
ΚΟΡΩΝΑ ΒΟΛΑΝ SCOOTER 250<>530 CC-82737R
ΣΤΡΟΦΑΛΟΣ X9 EVO/BEV==>>1A02384801-8423835001
ΓΡΑΝΑΖΙ ΚΑΔΕΝΑΣ SCOOTER 300-877308
Δημοφιλεις ετικετες
aprilia
battery
exatmish
exhaust
hpcorse
hp-corse
silencer
slipon
slip-on
teliko
vespa
εξάτμιση
μπαταρια
σιλανσιέ
τελικό
Προβολή όλων
ΠΛΑΪΝΑ ΦΕΡΙΝΓΚ ΕΠΑΝΩ
13032|40000000000002041010100490020||0014391|πλαινα-φερινγκ-επανω-3|ΠΛΑΪΝΑ ΦΕΡΙΝΓΚ ΕΠΑΝΩ
Προβολή ως
Πλέγμα
Λίστα
Ταξινόμηση ανά
Κορυφαίες επιλογές πρώτα
Αλφαβητικά Α - Ω
Αλφαβητικά Ω - Α
Αύξουσα τιμή
Φθίνουσα τιμή
Δημιουργήθηκε στις
Εμφάνιση
30
60
120
ανά σελίδα
ΑΣΦΑΛΕΙΑ ΜΕΓΑΛΗ (6Χ100 MM)-254485
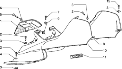
Το προιόν είναι το Νουμερο: 3 στην εικόνα.
€0,46
+Καλάθι
+Σύγκριση
Προσθήκη στα αγαπημένα
ΑΣΦΑΛΕΙΑ ΜΕΣΑΙΑ ΓΙΑ ΛΑΜΑΡΙΝΟΒΙΔΑ ΣΕ ΠΛ-CM017410
Το προιόν είναι το Νουμερο: 9 στην εικόνα.
€0,11
+Καλάθι
+Σύγκριση
Προσθήκη στα αγαπημένα
ΑΣΦΑΛΕΙΑ ΠΛΕΥΡΩΝ-ΚΑΠΑΚΙΟΥ DIG ΟΘΟΝ Χ9-CM017409
Το προιόν είναι το Νουμερο: 9 στην εικόνα.
€0,06
+Καλάθι
+Σύγκριση
Προσθήκη στα αγαπημένα
ΒΙΔΑ 5Χ30-828493
Το προιόν είναι το Νουμερο: 12 στην εικόνα.
€0,07
+Καλάθι
+Σύγκριση
Προσθήκη στα αγαπημένα
ΒΙΔΑ SCOOTER-259830
Το προιόν είναι το Νουμερο: 2 στην εικόνα.
€0,07
+Καλάθι
+Σύγκριση
Προσθήκη στα αγαπημένα
ΒΙΔΑ TORX 4,2x16-CM178606
Το προιόν είναι το Νουμερο: 7 στην εικόνα.
€0,04
+Καλάθι
+Σύγκριση
Προσθήκη στα αγαπημένα
ΒΙΔΑ TORX M6x22-CM179302
Το προιόν είναι το Νουμερο: 2 στην εικόνα.
€0,10
+Καλάθι
+Σύγκριση
Προσθήκη στα αγαπημένα
ΒΙΔΑ-270795
Το προιόν είναι το Νουμερο: 5 στην εικόνα.
€0,02
+Καλάθι
+Σύγκριση
Προσθήκη στα αγαπημένα
Τα cookies μας βοηθούν να παρέχουμε τις υπηρεσίες μας. Με τη χρήση των υπηρεσιών μας, συμφωνείτε με τη χρήση των cookies.
ΟΚ
Μάθε περισσότερα