Εγγραφή
Σύνδεση
(0)
(0)
Δεν υπάρχουν προϊόντα στο καλάθι σας.
Αναζήτηση
Genuine Piaggio Group Parts
UpMap
Μοτοσυκλέτα
Scooter
Εξατμίσεις
Βάσεις κινητού, ActionCam, GPS
Λιπαντικά
Αναβάτης
Αντικλεπτικά
Μπαταρίες
Βιβλία
Πακέτα Συντήρησης Scooter/Moto
Motoholics e-Gift Card
Μεταχειρισμένα
Service
Μενου
Genuine Piaggio Group Parts
UpMap
Μοτοσυκλέτα
Scooter
Εξατμίσεις
Βάσεις κινητού, ActionCam, GPS
Λιπαντικά
Αναβάτης
Αντικλεπτικά
Μπαταρίες
Βιβλία
Πακέτα Συντήρησης Scooter/Moto
Motoholics e-Gift Card
Service
Αρχική σελίδα
/
Genuine Piaggio Group Parts
/
Vespa
/
Scooter
/
Historical catalogs 1946 - 2005
/
Granturismo 200 L
/
Κινητήρας
/
Συγκρότημα κυλίνδρου-εμβόλου-πείρου
Φιλτράρισμα με τιμή
Κατηγορίες
Genuine Piaggio Group Parts
UpMap
Μοτοσυκλέτα
Scooter
Εξατμίσεις
Βάσεις κινητού, ActionCam, GPS
Λιπαντικά
Αναβάτης
Αντικλεπτικά
Μπαταρίες
Βιβλία
Πακέτα Συντήρησης Scooter/Moto
Motoholics e-Gift Card
Κατασκευαστές
AKRAPOVIC
VICMA
Bart Factory
PMT TYRES
Barnett
CHT CHIARAVALLI
MAXIMA RACING OILS
ABUS
AFAM
Aprilia
Armadillo Covers
aSpecialParts
AWA TECH
AXP
Barkbusters
Beeline
Benelli
BITUBO
BMW
BONAMICI RACING
Brembo
BS BATTERY
Bullster
Cardo
CFMOTO
CMS
CNC Racing
Denicol Lubricants
DNA
domino
Προβολή όλων
Είδατε πρόσφατα
ΠΛΑΙΣΙΟ ΠΑΤΩΜΑΤΟΣ VESPA PRIMAV-ELETT ΔΕΞ-CM298803
ΠΛΑΙΣΙΟ ΜΑΡΣΠΙΕ VESPA SPRINT E5+ΜΥ24 ΔΕ-1B010666000N22
ΚΛΙΠΣ ΣΥΓΚΡΑΤΗΣΗΣ ΚΑΛΩΔΙΩΝ-CM013203
Δημοφιλεις ετικετες
aprilia
battery
exatmish
exhaust
hpcorse
hp-corse
silencer
slipon
slip-on
teliko
vespa
εξάτμιση
μπαταρια
σιλανσιέ
τελικό
Προβολή όλων
Συγκρότημα κυλίνδρου-εμβόλου-πείρου
17770|50500000000001004050100290004||0019059|συγκροτημα-κυλινδρου-εμβολου-πειρου-64|Συγκρότημα κυλίνδρου-εμβόλου-πείρου
Προβολή ως
Πλέγμα
Λίστα
Ταξινόμηση ανά
Κορυφαίες επιλογές πρώτα
Αλφαβητικά Α - Ω
Αλφαβητικά Ω - Α
Αύξουσα τιμή
Φθίνουσα τιμή
Δημιουργήθηκε στις
Εμφάνιση
30
60
120
ανά σελίδα
ΑΣΦΑΛΕΙΑ ΠΙΣΤ SCOOTER 150<>250 4T-963486
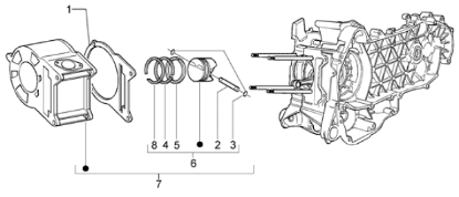
Το προιόν είναι το Νουμερο: 3 στην εικόνα.
€0,06
+Καλάθι
+Σύγκριση
Προσθήκη στα αγαπημένα
ΕΛΑΤΗΡΙΑ ΠΙΣΤ SC 200<>250 4T ΣΕΤ-843228
Το προιόν είναι το Νουμερο: 4 στην εικόνα.
€50,00
+Καλάθι
+Σύγκριση
Προσθήκη στα αγαπημένα
ΕΛΑΤΗΡΙΟ ΠΙΣΤ SC 200<>250 4T ΑΝΩ 72X1,5-830486
Το προιόν είναι το Νουμερο: 8 στην εικόνα.
€23,00
+Καλάθι
+Σύγκριση
Προσθήκη στα αγαπημένα
ΕΛΑΤΗΡΙΟ ΠΙΣΤ SC 200<>250 4T ΛΑΔ 72X2,5-486363
Το προιόν είναι το Νουμερο: 5 στην εικόνα.
€22,00
+Καλάθι
+Σύγκριση
Προσθήκη στα αγαπημένα
ΕΛΑΤΗΡΙΟ ΠΙΣΤ SC 200<>250 4T ΜΕΣΑΙΟ 72X1-484908
Το προιόν είναι το Νουμερο: 4 στην εικόνα.
€28,00
+Καλάθι
+Σύγκριση
Προσθήκη στα αγαπημένα
ΚΙΤ ΚΥΛΙΝΔΡΟΣ MALOSSI 218 cc-M3113955
Το προιόν είναι το Νουμερο: 7 στην εικόνα.
€448,00
+Καλάθι
+Σύγκριση
Προσθήκη στα αγαπημένα
ΚΥΛΙΝΔΡΟΣ SCOOTER 200 CC 4T 4V LEADER-843291
Το προιόν είναι το Νουμερο: 7 στην εικόνα.
€291,00
+Καλάθι
+Σύγκριση
Προσθήκη στα αγαπημένα
Κύλινδρος SIP 200 cc 4T- 4V-84329100
Το προιόν είναι το Νουμερο: 7 στην εικόνα.
€298,00
+Καλάθι
+Σύγκριση
Προσθήκη στα αγαπημένα
ΠΕΙΡΟΣ ΠΙΣΤΟΝΙΟΥ SCOOTER 200-250 4Τ-829529
Το προιόν είναι το Νουμερο: 2 στην εικόνα.
€5,39
+Καλάθι
+Σύγκριση
Προσθήκη στα αγαπημένα
ΠΙΣΤΟΝΙ STD SCOOTER 200cc 4T 4V CAT.1-8432900001
Το προιόν είναι το Νουμερο: 6 στην εικόνα.
€116,99
+Καλάθι
+Σύγκριση
Προσθήκη στα αγαπημένα
ΠΙΣΤΟΝΙ STD SCOOTER 200cc 4T 4V CAT.2-8432900002
Το προιόν είναι το Νουμερο: 6 στην εικόνα.
€116,99
+Καλάθι
+Σύγκριση
Προσθήκη στα αγαπημένα
ΠΙΣΤΟΝΙ STD SCOOTER 200cc 4T 4V CAT.3-8432900003
Το προιόν είναι το Νουμερο: 6 στην εικόνα.
€119,99
+Καλάθι
+Σύγκριση
Προσθήκη στα αγαπημένα
ΠΙΣΤΟΝΙ STD SCOOTER 200cc 4T 4V CAT.4-8432900004
Το προιόν είναι το Νουμερο: 6 στην εικόνα.
€116,99
+Καλάθι
+Σύγκριση
Προσθήκη στα αγαπημένα
ΦΛΑΝΤΖΑ ΚΥΛΙΝΔΡΟΥ SCOOTER 125<>300 0,4mm-875112
Το προιόν είναι το Νουμερο: 1 στην εικόνα.
€3,60
+Καλάθι
+Σύγκριση
Προσθήκη στα αγαπημένα
ΦΛΑΝΤΖΑ ΚΥΛΙΝΔΡΟΥ SCOOTER 125<>300 0,8mm-875114
Το προιόν είναι το Νουμερο: 1 στην εικόνα.
€3,60
+Καλάθι
+Σύγκριση
Προσθήκη στα αγαπημένα
ΦΛΑΝΤΖΑ ΚΥΛΙΝΔΡΟΥ SCOOTER 125<>310 0,6mm-875113
Το προιόν είναι το Νουμερο: 1 στην εικόνα.
€3,60
+Καλάθι
+Σύγκριση
Προσθήκη στα αγαπημένα
Τα cookies μας βοηθούν να παρέχουμε τις υπηρεσίες μας. Με τη χρήση των υπηρεσιών μας, συμφωνείτε με τη χρήση των cookies.
ΟΚ
Μάθε περισσότερα