Εγγραφή
Σύνδεση
(0)
(0)
Δεν υπάρχουν προϊόντα στο καλάθι σας.
Αναζήτηση
Genuine Piaggio Group Parts
UpMap
Μοτοσυκλέτα
Scooter
Εξατμίσεις
Βάσεις κινητού, ActionCam, GPS
Λιπαντικά
Αναβάτης
Αντικλεπτικά
Μπαταρίες
Βιβλία
Πακέτα Συντήρησης Scooter/Moto
Motoholics e-Gift Card
Μεταχειρισμένα
Service
Μενου
Genuine Piaggio Group Parts
UpMap
Μοτοσυκλέτα
Scooter
Εξατμίσεις
Βάσεις κινητού, ActionCam, GPS
Λιπαντικά
Αναβάτης
Αντικλεπτικά
Μπαταρίες
Βιβλία
Πακέτα Συντήρησης Scooter/Moto
Motoholics e-Gift Card
Service
Αρχική σελίδα
/
Genuine Piaggio Group Parts
/
Piaggio
/
Scooter
/
Fly 50
/
Fly 50 2T 2006-2007 (EMEA)
/
Αναρτήσεις - Τροχοί
/
Συστατικά μέρη πιρουνιού (Escorts)
Φιλτράρισμα με τιμή
Κατηγορίες
Genuine Piaggio Group Parts
UpMap
Μοτοσυκλέτα
Scooter
Εξατμίσεις
Βάσεις κινητού, ActionCam, GPS
Λιπαντικά
Αναβάτης
Αντικλεπτικά
Μπαταρίες
Βιβλία
Πακέτα Συντήρησης Scooter/Moto
Motoholics e-Gift Card
Κατασκευαστές
AKRAPOVIC
VICMA
Bart Factory
PMT TYRES
Barnett
CHT CHIARAVALLI
ABUS
AFAM
Aprilia
Armadillo Covers
aSpecialParts
AWA TECH
AXP
Barkbusters
Beeline
Benelli
BITUBO
BMW
BONAMICI RACING
Brembo
BS BATTERY
Bullster
Cardo
CFMOTO
CMS
CNC Racing
Denicol Lubricants
DNA
domino
Double Take Mirrors
Προβολή όλων
Είδατε πρόσφατα
ΣΠΟΙΛΕΡ PIAGGIO 1 ΜΑΥΡΟ ΑΡΙΣΤ-1B0083720000C
ΛΑΣΤΙΧΑΚΙ ΣΥΓΚΡΑΤ ΚΑΠ CM155101/CM166002-871458
ΚΑΠΑΚΙ ΠΙΡΟΥΝΙΟΥ LIBERTY 50 2T-4T-SPORT-601395
Δημοφιλεις ετικετες
aprilia
battery
exatmish
exhaust
hpcorse
hp-corse
silencer
slipon
slip-on
teliko
vespa
εξάτμιση
μπαταρια
σιλανσιέ
τελικό
Προβολή όλων
Συστατικά μέρη πιρουνιού (Escorts)
39977|NSE2000U010004040010100110001||0040832|συστατικα-μερη-πιρουνιου-escorts-44|Συστατικά μέρη πιρουνιού (Escorts)
Προβολή ως
Πλέγμα
Λίστα
Ταξινόμηση ανά
Κορυφαίες επιλογές πρώτα
Αλφαβητικά Α - Ω
Αλφαβητικά Ω - Α
Αύξουσα τιμή
Φθίνουσα τιμή
Δημιουργήθηκε στις
Εμφάνιση
30
60
120
ανά σελίδα
ΚΑΛΑΜΙ ΠΙΡΟΥΝΙΟΥ FLY50<>150 ESCORT-600484
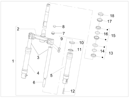
Το προιόν είναι το Νουμερο: 3 στην εικόνα.
€40,99
+Καλάθι
+Σύγκριση
Προσθήκη στα αγαπημένα
ΜΠΟΥΚΑΛΑ ΠΙΡΟΥΝΙΟΥ FLY 50<>150 ESC ΔΕΞ-600481
Το προιόν είναι το Νουμερο: 4 στην εικόνα.
€101,00
+Καλάθι
+Σύγκριση
Προσθήκη στα αγαπημένα
ΞΥΣΤΡΑ ΠΙΡΟΥΝΙΟΥ FLY 50<>150 4T-600490
Το προιόν είναι το Νουμερο: 10 στην εικόνα.
€5,70
+Καλάθι
+Σύγκριση
Προσθήκη στα αγαπημένα
ΠΑΞΙΜΑΔΙ ΠΙΡΟΥΝΙΟΥ VESPA-SCOOTER ΑΝΩ-0111094
Το προιόν είναι το Νουμερο: 18 στην εικόνα.
€2,19
+Καλάθι
+Σύγκριση
Προσθήκη στα αγαπημένα
ΠΟΤΗΡΙ ΠΙΡΟΥΝΙΟΥ VESPA (ΠΑΞΙΜΑΔΙ) 1,5/7-226156
Το προιόν είναι το Νουμερο: 18 στην εικόνα.
€7,80
+Καλάθι
+Σύγκριση
Προσθήκη στα αγαπημένα
ΠΟΤΗΡΙΑ ΠΙΡΟΥΝΙΟΥ ΣΕΤ SCOOT 50<>500 ΑΝΩ-65069345
Το προιόν είναι το Νουμερο: 15 στην εικόνα.
€12,00
+Καλάθι
+Σύγκριση
Προσθήκη στα αγαπημένα
ΠΟΤΗΡΙΑ ΠΙΡΟΥΝΙΟΥ ΣΕΤ SCOOT 50<>500 ΚΑΤ-65007545
Το προιόν είναι το Νουμερο: 13 στην εικόνα.
€18,00
+Καλάθι
+Σύγκριση
Προσθήκη στα αγαπημένα
ΠΟΤΗΡΙΑ ΠΙΡΟΥΝΙΟΥ ΣΕΤ SCOOT 50<>500 ΚΑΤΩ-1C0016085
Το προιόν είναι το Νουμερο: 13 στην εικόνα.
€20,00
+Καλάθι
+Σύγκριση
Προσθήκη στα αγαπημένα
ΠΟΤΗΡΙΑ ΠΙΡΟΥΝΙΟΥ ΣΕΤ VESPA GTS 310 ΚΑΤ-1C0078405
Το προιόν είναι το Νουμερο: 13 στην εικόνα.
€20,00
+Καλάθι
+Σύγκριση
Προσθήκη στα αγαπημένα
ΠΟΤΗΡΙΑ ΠΙΡΟΥΝΙΟΥ==>>60075045-600750
Το προιόν είναι το Νουμερο: 13 στην εικόνα.
€19,00
+Καλάθι
+Σύγκριση
Προσθήκη στα αγαπημένα
ΡΟΔΕΛΛΑ-0037514
Το προιόν είναι το Νουμερο: 17 στην εικόνα.
€1,00
+Καλάθι
+Σύγκριση
Προσθήκη στα αγαπημένα
ΡΟΥΛΕΜΑΝ ΠΙΡΟΥΝΙΟΥ ΜΕΓΑΛΟ ΚΑΤΩ C01<>C3-077023
Το προιόν είναι το Νουμερο: 13 στην εικόνα.
€5,11
+Καλάθι
+Σύγκριση
Προσθήκη στα αγαπημένα
ΡΟΥΛΕΜΑΝ ΠΙΡΟΥΝΙΟΥ ΜΙΚΡΟ ΑΝΩ C01<>C36-077024
Το προιόν είναι το Νουμερο: 15 στην εικόνα.
€3,50
+Καλάθι
+Σύγκριση
Προσθήκη στα αγαπημένα
ΤΣΙΜΟΥΧΑ ΠΙΡ FLY-TYP-SP.CITY 29X42X10,5-600485
Το προιόν είναι το Νουμερο: 11 στην εικόνα.
€9,20
+Καλάθι
+Σύγκριση
Προσθήκη στα αγαπημένα
ΤΣΙΜΟΥΧΑ ΠΙΡΟΥΝ LIB-FLY-TYP 125 30x42x11-601412
Το προιόν είναι το Νουμερο: 11 στην εικόνα.
€9,99
+Καλάθι
+Σύγκριση
Προσθήκη στα αγαπημένα
Τα cookies μας βοηθούν να παρέχουμε τις υπηρεσίες μας. Με τη χρήση των υπηρεσιών μας, συμφωνείτε με τη χρήση των cookies.
ΟΚ
Μάθε περισσότερα