Εγγραφή
Σύνδεση
(0)
(0)
Δεν υπάρχουν προϊόντα στο καλάθι σας.
Αναζήτηση
Genuine Piaggio Group Parts
UpMap
Μοτοσυκλέτα
Scooter
Εξατμίσεις
Βάσεις κινητού, ActionCam, GPS
Λιπαντικά
Αναβάτης
Αντικλεπτικά
Μπαταρίες
Βιβλία
Πακέτα Συντήρησης Scooter/Moto
Motoholics e-Gift Card
Μεταχειρισμένα
Service
Μενου
Genuine Piaggio Group Parts
UpMap
Μοτοσυκλέτα
Scooter
Εξατμίσεις
Βάσεις κινητού, ActionCam, GPS
Λιπαντικά
Αναβάτης
Αντικλεπτικά
Μπαταρίες
Βιβλία
Πακέτα Συντήρησης Scooter/Moto
Motoholics e-Gift Card
Service
Αρχική σελίδα
/
Genuine Piaggio Group Parts
/
Gilera
/
Scooter
/
Runner 125
/
Runner ST 125 4T E3 2008-2016 (EMEA)
/
Τιμόνι/Σύστημα διεύθυνσης
/
Τιμόνι - Αντλίες φρένου
Φιλτράρισμα με τιμή
Κατηγορίες
Genuine Piaggio Group Parts
UpMap
Μοτοσυκλέτα
Scooter
Εξατμίσεις
Βάσεις κινητού, ActionCam, GPS
Λιπαντικά
Αναβάτης
Αντικλεπτικά
Μπαταρίες
Βιβλία
Πακέτα Συντήρησης Scooter/Moto
Motoholics e-Gift Card
Κατασκευαστές
AKRAPOVIC
VICMA
Bart Factory
PMT TYRES
Barnett
CHT CHIARAVALLI
ABUS
AFAM
Aprilia
Armadillo Covers
aSpecialParts
AWA TECH
AXP
Barkbusters
Beeline
Benelli
BITUBO
BMW
BONAMICI RACING
Brembo
BS BATTERY
Bullster
Cardo
CFMOTO
CMS
CNC Racing
Denicol Lubricants
DNA
domino
Double Take Mirrors
Προβολή όλων
Είδατε πρόσφατα
ΤΣΙΜΟΥΧΑ ΘΕΡΜΟΣΤΑΤΗ HEXAGON-168077
ΚΑΠΕΛΩΤΟ ΒΑΛΒ DERBI GPR 125-SC LIGH 2,20-CM222701
ΑΥΤ/ΤΑ ΣΕΤ RUNNER ST ΣΠΟΙΛ ΜΥ10 ΜΑΥΡΟ-67229600A3
Δημοφιλεις ετικετες
aprilia
battery
exatmish
exhaust
hpcorse
hp-corse
silencer
slipon
slip-on
teliko
vespa
εξάτμιση
μπαταρια
σιλανσιέ
τελικό
Προβολή όλων
Τιμόνι - Αντλίες φρένου
41909|NSRF000U010003060020200080001||0042762|τιμονι-αντλιεσ-φρενου-206|Τιμόνι - Αντλίες φρένου
Προβολή ως
Πλέγμα
Λίστα
Ταξινόμηση ανά
Κορυφαίες επιλογές πρώτα
Αλφαβητικά Α - Ω
Αλφαβητικά Ω - Α
Αύξουσα τιμή
Φθίνουσα τιμή
Δημιουργήθηκε στις
Εμφάνιση
30
60
120
ανά σελίδα
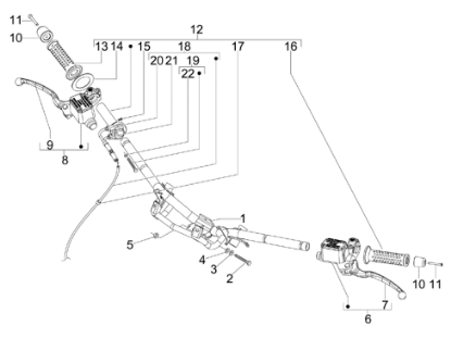
ΑΝΤΙΒΑΡΟ ΤΙΜ FUOCO-RUNNER ST-X7-654515
Το προιόν είναι το Νουμερο: 10 στην εικόνα.
€9,99
+Καλάθι
+Σύγκριση
Προσθήκη στα αγαπημένα
ΒΙΔΑ M5,8X17,2-123394
Το προιόν είναι το Νουμερο: 15 στην εικόνα.
€0,92
+Καλάθι
+Σύγκριση
Προσθήκη στα αγαπημένα
ΒΙΔΑ ΑΛΛΕΝ ΠΑΡΜΠΡΙΖ Χ9 500-576836
Το προιόν είναι το Νουμερο: 11 στην εικόνα.
€1,00
+Καλάθι
+Σύγκριση
Προσθήκη στα αγαπημένα
ΒΙΔΑ ΤΙΜΟΝΙΟΥ ΗΕΧ LX/T-250/SP CITY 50 2T-655554
Το προιόν είναι το Νουμερο: 2 στην εικόνα.
€0,79
+Καλάθι
+Σύγκριση
Προσθήκη στα αγαπημένα
ΛΑΜΑΚΙ ΣΤΗΡΙΞΗΣ ΝΤΙΖΑΣ-563989
Το προιόν είναι το Νουμερο: 17 στην εικόνα.
€0,24
+Καλάθι
+Σύγκριση
Προσθήκη στα αγαπημένα
ΜΑΝΕΤΑ ΑΡ/ΔΕ RUN VX/R-ST-V.GT-MED ΧΡΩΜ ±-497042
Το προιόν είναι το Νουμερο: 7 στην εικόνα.
€16,00
+Καλάθι
+Σύγκριση
Προσθήκη στα αγαπημένα
ΜΑΝΕΤΑ ΑΡ/ΔΕ VESPA GTV 300/PRIMAV-1C006083
Το προιόν είναι το Νουμερο: 7 στην εικόνα.
€13,00
+Καλάθι
+Σύγκριση
Προσθήκη στα αγαπημένα
ΜΑΝΕΤΑ ΔΕ VESPA GT 60`-GTV 250 H.T-648378
Το προιόν είναι το Νουμερο: 7 στην εικόνα.
€20,00
+Καλάθι
+Σύγκριση
Προσθήκη στα αγαπημένα
ΝΤΙΖΑ ΓΚΑΖΙΟΥ RUNNER 125-200 RST-ST ΚΟΜΠ-949415
Το προιόν είναι το Νουμερο: 18 στην εικόνα.
€26,00
+Καλάθι
+Σύγκριση
Προσθήκη στα αγαπημένα
ΠΑΞΙΜΑΔΙ M10 H=11-015330
Το προιόν είναι το Νουμερο: 5 στην εικόνα.
€0,12
+Καλάθι
+Σύγκριση
Προσθήκη στα αγαπημένα
ΠΑΞΙΜΑΔΙ Μ6Χ1 (Η=4)-020206
Το προιόν είναι το Νουμερο: 22 στην εικόνα.
€0,04
+Καλάθι
+Σύγκριση
Προσθήκη στα αγαπημένα
ΠΑΞΙΜΑΔΙ-020105
Το προιόν είναι το Νουμερο: 21 στην εικόνα.
€0,04
+Καλάθι
+Σύγκριση
Προσθήκη στα αγαπημένα
ΡΕΓΟΥΛΑΤΟΡΟΣ-269145
Το προιόν είναι το Νουμερο: 19 στην εικόνα.
€3,30
+Καλάθι
+Σύγκριση
Προσθήκη στα αγαπημένα
ΡΟΔΕΛΑ 10,3X17X2-012543
Το προιόν είναι το Νουμερο: 3 στην εικόνα.
€0,04
+Καλάθι
+Σύγκριση
Προσθήκη στα αγαπημένα
ΡΟΔΕΛΑ 27X38,3X1,2-562923
Το προιόν είναι το Νουμερο: 14 στην εικόνα.
€0,12
+Καλάθι
+Σύγκριση
Προσθήκη στα αγαπημένα
ΡΟΔΕΛΑ-178790
Το προιόν είναι το Νουμερο: 4 στην εικόνα.
€1,10
+Καλάθι
+Σύγκριση
Προσθήκη στα αγαπημένα
ΣΚΡΙΠ ΓΚΑΖΙΟΥ RUNNER 125<>200 RST-ST-RAC-CM060970
Το προιόν είναι το Νουμερο: 12 στην εικόνα.
€48,00
+Καλάθι
+Σύγκριση
Προσθήκη στα αγαπημένα
ΤΙΜΟΝΙ RUNNER FX/R-FL-ST 125-200-NRG POW-6550825
Το προιόν είναι το Νουμερο: 1 στην εικόνα.
€71,99
+Καλάθι
+Σύγκριση
Προσθήκη στα αγαπημένα
ΤΡΟΜΠΑ ΦΡ RUN FX/R-FL-NRG POWDD ΑΡΙΣΤ-CM074803
Το προιόν είναι το Νουμερο: 6 στην εικόνα.
€88,00
+Καλάθι
+Σύγκριση
Προσθήκη στα αγαπημένα
ΤΡΟΜΠΑ ΦΡ RUN VX/R-ST-V.GT-FLY150 ΔΕΞ ±-CM074901
Το προιόν είναι το Νουμερο: 8 στην εικόνα.
€60,00
+Καλάθι
+Σύγκριση
Προσθήκη στα αγαπημένα
ΤΡΟΜΠΑ ΦΡ VESPA GT 200-LX-S ΔΕΞΙΑ ±-CM074904
Το προιόν είναι το Νουμερο: 8 στην εικόνα.
€60,00
+Καλάθι
+Σύγκριση
Προσθήκη στα αγαπημένα
ΧΕΙΡΟΛΑΒΗ ΤΙΜ BEV500-GT200-Χ8-RU FXR ΑΡ-271452
Το προιόν είναι το Νουμερο: 16 στην εικόνα.
€3,40
+Καλάθι
+Σύγκριση
Προσθήκη στα αγαπημένα
ΧΕΙΡΟΛΑΒΗ ΤΙΜ BEV500-GT200-Χ8-RU FXR ΔΕΞ-271453
Το προιόν είναι το Νουμερο: 13 στην εικόνα.
€5,10
+Καλάθι
+Σύγκριση
Προσθήκη στα αγαπημένα
Τα cookies μας βοηθούν να παρέχουμε τις υπηρεσίες μας. Με τη χρήση των υπηρεσιών μας, συμφωνείτε με τη χρήση των cookies.
ΟΚ
Μάθε περισσότερα