Εγγραφή
Σύνδεση
(0)
(0)
Δεν υπάρχουν προϊόντα στο καλάθι σας.
Αναζήτηση
Genuine Piaggio Group Parts
UpMap
Μοτοσυκλέτα
Scooter
Εξατμίσεις
Βάσεις κινητού, ActionCam, GPS
Λιπαντικά
Αναβάτης
Αντικλεπτικά
Μπαταρίες
Βιβλία
Πακέτα Συντήρησης Scooter/Moto
Motoholics e-Gift Card
Μεταχειρισμένα
Service
Μενου
Genuine Piaggio Group Parts
UpMap
Μοτοσυκλέτα
Scooter
Εξατμίσεις
Βάσεις κινητού, ActionCam, GPS
Λιπαντικά
Αναβάτης
Αντικλεπτικά
Μπαταρίες
Βιβλία
Πακέτα Συντήρησης Scooter/Moto
Motoholics e-Gift Card
Service
Αρχική σελίδα
/
Genuine Piaggio Group Parts
/
Vespa
/
Scooter
/
Vespa S 125
/
Vespa S 125 College 4T 2V ie E3 2009 - 2011
/
Κινητήρας
/
Τροχαλία οδηγούμενη
Φιλτράρισμα με τιμή
Κατηγορίες
Genuine Piaggio Group Parts
UpMap
Μοτοσυκλέτα
Scooter
Εξατμίσεις
Βάσεις κινητού, ActionCam, GPS
Λιπαντικά
Αναβάτης
Αντικλεπτικά
Μπαταρίες
Βιβλία
Πακέτα Συντήρησης Scooter/Moto
Motoholics e-Gift Card
Κατασκευαστές
AKRAPOVIC
VICMA
Bart Factory
PMT TYRES
Barnett
CHT CHIARAVALLI
MAXIMA RACING OILS
ABUS
AFAM
Aprilia
Armadillo Covers
aSpecialParts
AWA TECH
AXP
Barkbusters
Beeline
Benelli
BITUBO
BMW
BONAMICI RACING
Brembo
BS BATTERY
Bullster
Cardo
CFMOTO
CMS
CNC Racing
Denicol Lubricants
DNA
domino
Προβολή όλων
Είδατε πρόσφατα
ΒΑΣΗ ΣΕΛΛΑΣ VESPA GT 200-577456
ΡΟΥΛΕΜΑΝ 63026-C3 (15x42x13)-83018R
ΑΣΦΑΛΕΙΑ ΑΞΟΝΑ ΚΙΝ SKIP-HEX 16mm-006416
Δημοφιλεις ετικετες
aprilia
battery
exatmish
exhaust
hpcorse
hp-corse
silencer
slipon
slip-on
teliko
vespa
εξάτμιση
μπαταρια
σιλανσιέ
τελικό
Προβολή όλων
Τροχαλία οδηγούμενη
50844|NVPE000U010001140050100170003||0051595|τροχαλια-οδηγουμενη-415|Τροχαλία οδηγούμενη
Προβολή ως
Πλέγμα
Λίστα
Ταξινόμηση ανά
Κορυφαίες επιλογές πρώτα
Αλφαβητικά Α - Ω
Αλφαβητικά Ω - Α
Αύξουσα τιμή
Φθίνουσα τιμή
Δημιουργήθηκε στις
Εμφάνιση
30
60
120
ανά σελίδα
ΑΣΦΑΛΕΙΑ ΚΟΜΠΛΕΡ-483226
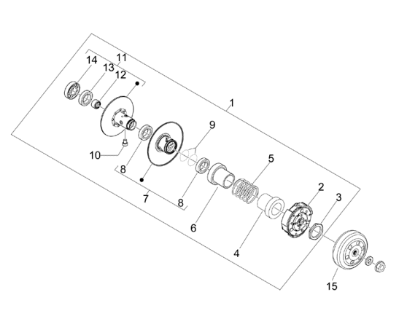
Το προιόν είναι το Νουμερο: 13 στην εικόνα.
€0,86
+Καλάθι
+Σύγκριση
Προσθήκη στα αγαπημένα
ΑΦΑΛΟΣ ΚΟΜΠΛΕΡ ΚΟΜΠΛΕ LEADER 125-180-200-830580
Το προιόν είναι το Νουμερο: 11 στην εικόνα.
€110,00
+Καλάθι
+Σύγκριση
Προσθήκη στα αγαπημένα
ΒΑΣΗ ΕΛΑΤ ΚΟΜΠΛ SKIPPER-4310935
Το προιόν είναι το Νουμερο: 6 στην εικόνα.
€23,00
+Καλάθι
+Σύγκριση
Προσθήκη στα αγαπημένα
ΒΑΣΗ ΕΛΑΤ ΚΟΜΠΛΕΡ X8-VESPA GT-487936
Το προιόν είναι το Νουμερο: 4 στην εικόνα.
€4,90
+Καλάθι
+Σύγκριση
Προσθήκη στα αγαπημένα
ΔΙΣΚΟΣ ΚΟΜΠΛΕΡ LEADER 125-879002
Το προιόν είναι το Νουμερο: 7 στην εικόνα.
€57,99
+Καλάθι
+Σύγκριση
Προσθήκη στα αγαπημένα
ΕΛΑΤΗΡΙΟ ΚΟΜΠΛΕΡ SKIPPER 4T-872877
Το προιόν είναι το Νουμερο: 5 στην εικόνα.
€8,00
+Καλάθι
+Σύγκριση
Προσθήκη στα αγαπημένα
ΚΑΜΠΑΝΑ ΑΜΠΡ SCOOTER 125<>300 CC 4T-8440494
Το προιόν είναι το Νουμερο: 15 στην εικόνα.
€29,00
+Καλάθι
+Σύγκριση
Προσθήκη στα αγαπημένα
ΚΟΜΠΛΕΡ ΚΙΝΗΣΗΣ FLY-ET4-LIB <150cc>-CM162402
Το προιόν είναι το Νουμερο: 1 στην εικόνα.
€96,00
+Καλάθι
+Σύγκριση
Προσθήκη στα αγαπημένα
ΚΟΜΠΛΕΡ ΚΙΝΗΣΗΣ FLY-LX-S-MP3 125-X8 125-CM162401
Το προιόν είναι το Νουμερο: 1 στην εικόνα.
€119,00
+Καλάθι
+Σύγκριση
Προσθήκη στα αγαπημένα
Ο-ΡΙΝΓΚ ΔΙΣΚΟΥ ΚΟΜΠΛΕΡ SCOOTER-430585
Το προιόν είναι το Νουμερο: 9 στην εικόνα.
€0,60
+Καλάθι
+Σύγκριση
Προσθήκη στα αγαπημένα
ΠΑΞΙΜΑΔΙ ΚΟΜΠ SKIP-HEX-X8-433232
Το προιόν είναι το Νουμερο: 3 στην εικόνα.
€9,90
+Καλάθι
+Σύγκριση
Προσθήκη στα αγαπημένα
ΠΕΙΡΑΚΙ ΔΙΣΚΟΥ ΚΟΜΠΛΕΡ RUNN200 >>11.01-828717
Το προιόν είναι το Νουμερο: 10 στην εικόνα.
€0,55
+Καλάθι
+Σύγκριση
Προσθήκη στα αγαπημένα
ΡΟΥΛΕΜΑΝ 61903-2RS1-431069
Το προιόν είναι το Νουμερο: 14 στην εικόνα.
€12,00
+Καλάθι
+Σύγκριση
Προσθήκη στα αγαπημένα
ΡΟΥΛΕΜΑΝ 6903-RS ΚΟΜΠΛΕΡ 125<>300 4Τ-82753R
Το προιόν είναι το Νουμερο: 14 στην εικόνα.
€16,00
+Καλάθι
+Σύγκριση
Προσθήκη στα αγαπημένα
ΡΟΥΛΕΜΑΝ ΚΟΜΠΛΕΡ SC 125<>300 20Χ29X18-82518R
Το προιόν είναι το Νουμερο: 12 στην εικόνα.
€14,00
+Καλάθι
+Σύγκριση
Προσθήκη στα αγαπημένα
ΣΙΑΓΩΝΕΣ ΣΕΤ ΑΜΠΡ FLY-LX 125/150-CM1612015
Το προιόν είναι το Νουμερο: 2 στην εικόνα.
€70,00
+Καλάθι
+Σύγκριση
Προσθήκη στα αγαπημένα
ΣΙΑΓΩΝΕΣ ΣΕΤ ΑΜΠΡ Χ9125-BEV125-ET4150-SK-CM161202
Το προιόν είναι το Νουμερο: 2 στην εικόνα.
€70,00
+Καλάθι
+Σύγκριση
Προσθήκη στα αγαπημένα
ΤΣΙΜΟΥΧΑ ΚΟΜΠΛΕΡ 48X41X4-431089
Το προιόν είναι το Νουμερο: 8 στην εικόνα.
€7,01
+Καλάθι
+Σύγκριση
Προσθήκη στα αγαπημένα
Τα cookies μας βοηθούν να παρέχουμε τις υπηρεσίες μας. Με τη χρήση των υπηρεσιών μας, συμφωνείτε με τη χρήση των cookies.
ΟΚ
Μάθε περισσότερα