Εγγραφή
Σύνδεση
(0)
(0)
Δεν υπάρχουν προϊόντα στο καλάθι σας.
Αναζήτηση
Genuine Piaggio Group Parts
UpMap
Μοτοσυκλέτα
Scooter
Εξατμίσεις
Βάσεις κινητού, ActionCam, GPS
Λιπαντικά
Αναβάτης
Αντικλεπτικά
Μπαταρίες
Βιβλία
Πακέτα Συντήρησης Scooter/Moto
Motoholics e-Gift Card
Μεταχειρισμένα
Service
Μενου
Genuine Piaggio Group Parts
UpMap
Μοτοσυκλέτα
Scooter
Εξατμίσεις
Βάσεις κινητού, ActionCam, GPS
Λιπαντικά
Αναβάτης
Αντικλεπτικά
Μπαταρίες
Βιβλία
Πακέτα Συντήρησης Scooter/Moto
Motoholics e-Gift Card
Service
Αρχική σελίδα
/
Genuine Piaggio Group Parts
/
Vespa
/
Scooter
/
Historical catalogs 1946 - 2005
/
Vespa 125 FL2
/
Πλαίσιο
/
Χειριστήριο στρόφιγγας
Φιλτράρισμα με τιμή
Κατηγορίες
Genuine Piaggio Group Parts
UpMap
Μοτοσυκλέτα
Scooter
Εξατμίσεις
Βάσεις κινητού, ActionCam, GPS
Λιπαντικά
Αναβάτης
Αντικλεπτικά
Μπαταρίες
Βιβλία
Πακέτα Συντήρησης Scooter/Moto
Motoholics e-Gift Card
Κατασκευαστές
AKRAPOVIC
VICMA
Bart Factory
PMT TYRES
Barnett
CHT CHIARAVALLI
MAXIMA RACING OILS
ABUS
AFAM
Aprilia
Armadillo Covers
aSpecialParts
AWA TECH
AXP
Barkbusters
Beeline
Benelli
BITUBO
BMW
BONAMICI RACING
Brembo
BS BATTERY
Bullster
Cardo
CFMOTO
CMS
CNC Racing
Denicol Lubricants
DNA
domino
Προβολή όλων
Είδατε πρόσφατα
ΕΛΑΤΗΡΙΟ ΔΙΑΚ ΚΕΝΤΡΙΚΟΥ BEV-ET4-RUN FXR-298838
ΠΑΞΙΜΑΔΙ ΜΠΡ ΤΡ TYPHOON-X8-SHIVER-DORSO-271740
ΘΑΛΑΜΟΣ ΦΙΛΤΡΟΥ VESPA GTS 125 ABS E5-1A018827
Δημοφιλεις ετικετες
aprilia
battery
exatmish
exhaust
hpcorse
hp-corse
silencer
slipon
slip-on
teliko
vespa
εξάτμιση
μπαταρια
σιλανσιέ
τελικό
Προβολή όλων
Χειριστήριο στρόφιγγας
53937|VESPA125FL2002300050100290025||0107446|χειριστηριο-στροφιγγασ-2|Χειριστήριο στρόφιγγας
Προβολή ως
Πλέγμα
Λίστα
Ταξινόμηση ανά
Κορυφαίες επιλογές πρώτα
Αλφαβητικά Α - Ω
Αλφαβητικά Ω - Α
Αύξουσα τιμή
Φθίνουσα τιμή
Δημιουργήθηκε στις
Εμφάνιση
30
60
120
ανά σελίδα
ΑΣΦΑΛΕΙΑ ΡΟΥΜΠ FL-083139
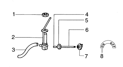
Το προιόν είναι το Νουμερο: 4 στην εικόνα.
€0,10
+Καλάθι
+Σύγκριση
Προσθήκη στα αγαπημένα
ΠΑΞΙΜΑΔΙ ΡΟΥΜΠΙΝΕΤΟΥ VESPA M24X1,5-138935
Το προιόν είναι το Νουμερο: 1 στην εικόνα.
€0,76
+Καλάθι
+Σύγκριση
Προσθήκη στα αγαπημένα
ΡΟΥΜΠΙΝΕΤΟ ΒΕΝΖ VESPA ARCOBAL VNX<>VSX-217872
Το προιόν είναι το Νουμερο: 2 στην εικόνα.
€23,99
+Καλάθι
+Σύγκριση
Προσθήκη στα αγαπημένα
ΣΩΛΗΝΑΚΙ ΒΕΝΖΙΝΗΣ APE 50-CM002503
Το προιόν είναι το Νουμερο: 3 στην εικόνα.
€9,30
+Καλάθι
+Σύγκριση
Προσθήκη στα αγαπημένα
ΣΩΛΗΝΑΚΙ ΕΞΑΕΡ ΤΕΠ ΒΕΝΖ TYPH 50/125-ΑΡΕ-CM002609
Το προιόν είναι το Νουμερο: 3 στην εικόνα.
€5,51
+Καλάθι
+Σύγκριση
Προσθήκη στα αγαπημένα
ΣΩΛΗΝΑΚΙ-CM002609-219379
Το προιόν είναι το Νουμερο: 3 στην εικόνα.
€4,70
+Καλάθι
+Σύγκριση
Προσθήκη στα αγαπημένα
Τα cookies μας βοηθούν να παρέχουμε τις υπηρεσίες μας. Με τη χρήση των υπηρεσιών μας, συμφωνείτε με τη χρήση των cookies.
ΟΚ
Μάθε περισσότερα