Εγγραφή
Σύνδεση
(0)
(0)
Δεν υπάρχουν προϊόντα στο καλάθι σας.
Αναζήτηση
Genuine Piaggio Group Parts
UpMap
Μοτοσυκλέτα
Scooter
Εξατμίσεις
Βάσεις κινητού, ActionCam, GPS
Λιπαντικά
Αναβάτης
Αντικλεπτικά
Μπαταρίες
Βιβλία
Πακέτα Συντήρησης Scooter/Moto
Motoholics e-Gift Card
Μεταχειρισμένα
Service
Μενου
Genuine Piaggio Group Parts
UpMap
Μοτοσυκλέτα
Scooter
Εξατμίσεις
Βάσεις κινητού, ActionCam, GPS
Λιπαντικά
Αναβάτης
Αντικλεπτικά
Μπαταρίες
Βιβλία
Πακέτα Συντήρησης Scooter/Moto
Motoholics e-Gift Card
Service
Αρχική σελίδα
/
Genuine Piaggio Group Parts
/
Ape
/
Ape Poker
/
Ape Poker
/
Ape Poker 1993-2004 405276
/
Veicolo
/
Dashboard - key operated switch
Φιλτράρισμα με τιμή
Κατηγορίες
Genuine Piaggio Group Parts
UpMap
Μοτοσυκλέτα
Scooter
Εξατμίσεις
Βάσεις κινητού, ActionCam, GPS
Λιπαντικά
Αναβάτης
Αντικλεπτικά
Μπαταρίες
Βιβλία
Πακέτα Συντήρησης Scooter/Moto
Motoholics e-Gift Card
Κατασκευαστές
AKRAPOVIC
VICMA
Bart Factory
PMT TYRES
Barnett
CHT CHIARAVALLI
MAXIMA RACING OILS
ABUS
AFAM
Aprilia
Armadillo Covers
aSpecialParts
AWA TECH
AXP
Barkbusters
Beeline
Benelli
BITUBO
BMW
BONAMICI RACING
Brembo
BS BATTERY
Bullster
Cardo
CFMOTO
CMS
CNC Racing
Denicol Lubricants
DNA
domino
Προβολή όλων
Είδατε πρόσφατα
ΠΕΙΡΑΚΙ ΝΤΟΥΛΑΠΙΟΥ LIBERTY-1B003429
ΠΟΜΟΛΟ ΝΤΟΥΛΑΠΙΟΥ LIBERTY 4T 3V E5+ 24-1B012585
ΕΠΕΝΔΥΣΗ ΕΣΩΤ ΠΟΡΤ ΝΤΟΥΛ MEDLEY 125-150-1B001709
Δημοφιλεις ετικετες
aprilia
battery
exatmish
exhaust
hpcorse
hp-corse
silencer
slipon
slip-on
teliko
vespa
εξάτμιση
μπαταρια
σιλανσιέ
τελικό
Προβολή όλων
Dashboard - key operated switch
14279|40527600000002101040600010001||0015635|dashboard-key-operated-switch|Dashboard - key operated switch
Προβολή ως
Πλέγμα
Λίστα
Ταξινόμηση ανά
Κορυφαίες επιλογές πρώτα
Αλφαβητικά Α - Ω
Αλφαβητικά Ω - Α
Αύξουσα τιμή
Φθίνουσα τιμή
Δημιουργήθηκε στις
Εμφάνιση
30
60
120
ανά σελίδα
ΔΙΑΚΟΠΤΗΣ ΑΛΑΡΜ APE 703-POKER-230067
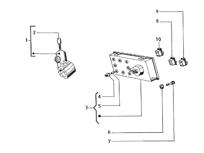
Το προιόν είναι το Νουμερο: 10 στην εικόνα.
€23,99
+Καλάθι
+Σύγκριση
Προσθήκη στα αγαπημένα
ΔΙΑΚΟΠΤΗΣ ΚΕΝΤΡΙΚΟΣ POKER ΜΕ ΚΛΕΙΔΙ-250230
Το προιόν είναι το Νουμερο: 1 στην εικόνα.
€71,00
+Καλάθι
+Σύγκριση
Προσθήκη στα αγαπημένα
ΛΑΜΠΑ 12V 1.2W T5 ΟΡΓΑΝΩΝ-164634
Το προιόν είναι το Νουμερο: 5 στην εικόνα.
€1,00
+Καλάθι
+Σύγκριση
Προσθήκη στα αγαπημένα
ΝΤΟΥΙ-214191
Το προιόν είναι το Νουμερο: 4 στην εικόνα.
€6,40
+Καλάθι
+Σύγκριση
Προσθήκη στα αγαπημένα
ΠΑΞΙΜΑΔΙ ΑΣΦΑΛΕΙΑΣ ΡΕ-COSA-191962
Το προιόν είναι το Νουμερο: 6 στην εικόνα.
€0,19
+Καλάθι
+Σύγκριση
Προσθήκη στα αγαπημένα
Τα cookies μας βοηθούν να παρέχουμε τις υπηρεσίες μας. Με τη χρήση των υπηρεσιών μας, συμφωνείτε με τη χρήση των cookies.
ΟΚ
Μάθε περισσότερα